Компоновка составных частей
В зависимости от производителя, устройство и конструкция лампы разные. С другой стороны, общий принцип компоновки остается одинаковым. Сборка начинается с цоколя, куда последовательно устанавливают драйвер, радиатор, плату с LED-диодами и колбу.
Для сравнения рассмотрим устройство изделия от двух производителей.
Светодиодная лампа BBK
Цоколь изготавливается из пластика. Внутри установлен качественный драйвер. Для корпуса используется алюминий, выполняющий функции радиатора. Туда крепится плата с диодами и линза. Наличие данной линзы понижает световую отдачу прибора.

Лампа Gauss
Опять же цоколь изготовлен из пластика, имеются драйвер и алюминиевый корпус с установленной диодной платой. Конструкция гарантирует долговечность изделия.
Техника безопасности при ремонте светодиодных лампочек на 220 В
Поскольку мы проводим ремонт прибора, работающего от сети, то без техники безопасности никуда. Светодиодные лампы имеют бестрансформаторное питание, практически все элементы схемы во время работы прибора, включая светодиоды, находятся под опасным для жизни напряжением
Поэтому соблюдай следующие меры предосторожности:
- Все перепайки и измерения во время ремонта проводи только в отключенной лампе.
- Даже если конденсаторы зашунтированы разрядными резисторами, после выключения лампы разряди все конденсаторы вручную. Для этого достаточно на секунду закоротить выводы конденсатора любым металлическим инструментом с диэлектрической ручкой.
- Во время включения прибора после ремонта береги глаза. Если что-то пойдет не так, любой из элементов может взорваться. Лучше отвернись, включи и поворачивайся.
- Не оставляй без присмотра включенный паяльник и не клади его во время перерывов в ремонте на горючие предметы. 260 градусов – это относительно немного, но пожар устроить хватит.
На этом, пожалуй, можно закончить. Теперь ты знаешь, как устроена светодиодная лампа и как она работает. А при необходимости сможешь самостоятельно произвести ее ремонт.
Причины для ремонта светодиодных ламп: устройство, электрические схемы
Перед тем как приступить к ремонту светодиодных ламп своими руками, важно выяснить причины их сбоя. Заявленный эксплуатационный срок ламп может не совпадать с реальными сроками
Это происходит из-за кристаллов плохого качества.
Существуют такие причины неисправностей осветительных приборов:
- перепады напряжения не так сильно влияют на работу электрических деталей, заметные колебания показателей напряжений могут спровоцировать появление неисправности;
- неподходящий светильник. Если выбран неправильный плафон, то может произойти перегрев источника освещения.
- светоизлучающие элементы плохого качества способствуют быстрому выходу из строя изделий;
- неправильная установка системы освещения оказывает негативное влияние на электропроводку;
- сильные вибрации и удары могут способствовать поломке подобного оборудования.
Разбор устройства позволяет определить точные причины поломок
Чтобы не пришлось делать ремонт светодиодной лампочки своими руками, нужно минимизировать воздействие перечисленных факторов на лампу.
Частые проблемы, возникающие с лед – устройствами
Часто требуется провести ремонт светодиодных ламп своими руками, при проблемах с конденсатором. Чтобы осуществить проверку, его придется выпаять из платы. Можно измерить напряжение элемента мультиметром. Этим же прибором осуществляется проверка рабочего состояния диодов.
На схеме изображен порядок подсоединения драйверов
В некоторых случаях наблюдается моргание светодиодных элементов. Подобное происходит, если неисправен токоограничивающий конденсатор. Причиной поломки может стать сгоревший излучатель. Неисправность можно увидеть далеко не по всем светодиодам, поэтому придется проверять каждую деталь. Чтобы найти проблемный диод применяется тестер.
Делая ремонт, вы можете поэкспериментировать со светодиодными элементами. Например, подобрать теплые или холодные температуры света. В некоторых устройствах нет сглаживающего конденсатора и выпрямителя. Их можно установить с помощью паяльника.
Тестирование источников освещения производится при помощи мультиметра или пробника
Особенности управления яркостью свечения светодиодной лампы
Драйверы не всех светодиодных ламп поддерживают функцию диммирования. Произвольно менять интенсивность свечения с помощью обычного светорегулятора можно только у приборов с пометкой dimmable (диммируемая) либо специальным логотипом на упаковке.
В качественных диммированных светодиодных лампах, яркостью которых можно управлять, установлены драйверы с функцией ШИМ (широтно-импульсного модулирования). Они поддерживают регулировку яркости в пределах от 0-5 % до 95-100 %. Принцип работы таких драйверов состоит в изменении ширины импульса сигнала при постоянной его частоте и амплитуде.
Чтобы понять эту схему, представим подключенный к двигателю маховик. Если его включить на целый час, он раскрутится до предельной скорости, которая постепенно начнет снижаться только после выключения двигателя. А что произойдет, если включать двигатель через каждые 10 минут? Очевидно, что маховик не сможет выйти на максимальную скорость. Причем, чем больше будут интервалы простоя двигателя, тем медленнее станет вращаться маховик. Но скорость можно снизить и другим способом: оставить момент включения неизменным, а менять лишь время работы двигателя. То есть, регулируя период и длительность включения двигателя, можно управлять маховиком.
ШИМ работает по схожему принципу. Но включать-выключать ток в цепи приходится с очень большой частотой, так как светодиод не имеет такой же инерции, как маховик, и после выключения сразу гаснет.
Виды диммеров для светодиодных ламп
На рынке есть возможность приобрести регуляторы для светодиодных диммируемых ламп с различными техническими характеристиками. В отличие от обычных выключателей, в устройстве диммера предусмотрена сложная схема, от качества которой зависит его работоспособность и долговечность.
Более дорогие модели. Качественные модели недешевы, но в их устройстве используются универсальные схемы без предохранителей. Такие светорегуляторы проще подключать: не надо разбираться, где фаза, а где ноль. Это особенно актуально в тех случаях, когда проводку сделали неграмотно, поэтому легко перепутать полярность подключения.
Некоторые модели качественных выключателей оснащаются не только вращающейся ручкой-регулятором, но и маленькой клавишей, с помощью которой можно включать и выключать свет при настроенной яркости. Есть также диммеры с большим переключателем. Они работают так: длительное нажатие при включенной клавише меняет яркость освещения до заранее настроенного на ШИМ-контроллере минимального или максимального значения. Чтобы остановиться на выбранной интенсивности свечения лампы, надо снять руку с клавиши. Такие модели удобны тем, что при включении лампы яркость света останется такой же, какой была до выключения.
Простые дешевые диммеры. Китайские диммеры устроены проще, поэтому они значительно дешевле. Но ненадежны, поскольку у таких моделей нет предохранителей, и они начинают «плавиться» уже при нагрузке, составляющей всего 2/3 от номинальной. При выборе диммера нежелательно экономить, так как стремление сберечь несколько сотен рублей может обернуться новыми затратами
Виды светодиодных ламп
Питание 4 В
Отдельные светодиоды могут использоваться для шопмоддинга, или любителями самодельных альтернативных источников энергии, например для запитывания от маломощных ветряных установок, для ремонта при замене вышедших из строя элементов в лампах и т. д. Выпускаются светодиоды рассчитанные на напряжение от 1 до 4,5 В и дающие разный цвет, от инфракрасного до ультрафиолетового.
Световая температура ламп
Питание 12 В
Лампы, с напряжением 12 Вольт относятся к категории безопасного оборудования, не способного причинить серьёзного вреда человеку, поэтому их можно применять в помещениях с повышенной влажностью. А также в спальнях, детских, погребах и кухнях.
Такие лампы выпускают в основном в безцокольном штырьковом исполнении.
Усложняет процесс монтажа лампочек то, что требуется специальное устройство, блок питания, который будет понижать напряжение сети с 220 до 12 В. Кроме того, такое устройство в цепи берёт на себя часть энергии, а КПД падает. А любое дополнительное устройство – это потенциально слабое звено, которое может выйти из строя.
Лампочка 12W
Обратить внимание на 12-вольтовые лампы стоит потребителям автономных и альтернативных источников энергии (солнечных батарей, ветряков и т. д.), а также автолюбителям и путешественникам, тем, кто организовывает освещение любого помещения от аккумуляторов.
Питание 220 В
Светодиоды, рассчитанные на 220 В уже снабжены всем необходимым для стабилизации напряжения (сложностью внутренних деталей и технологии их производства, объясняется высокая цена ламп). Такие осветители – самые распространённые среди обычных потребителей электроэнергии.
Также существует деление по назначению светодиодов:
- Осветительные.
- Индикаторные.
Последние, – маломощные источники света, пригодные только для подсветки дисплеев электроприборов и индикаторов в технике.

По способу сборки выделяются следующие типы:
- DIP – состоит из кристалла и линзы над ним. Выводов у DIP-светодиода, два.
- «Пиранья» – кристалл, линза, но выхода – четыре. Надёжнее монтируется, лучше отводит тепло.
- SMD – поверхностный светодиод. Малые размеры, хороший теплоотвод, большое разнообразие вариантов исполнения. На сегодняшний день – это самые востребованные приборы.
- СОВ – чип, встроенный в плату. Высокая интенсивность света. Контакты защищены от чрезмерного нагрева и окислительных процессов.
Как устанавливать светодиодные светильники в строительные конструкции
Монтаж и крепление осветительных приборов из светодиодов проводится теми же способами, что и для других ламп. Только современные инструменты и крепежные элементы немного упростили эту технологию.
В бытовом освещении используются два вида светильников:
- наружные: бра, люстры и им подобные;
- точечные, встроенные в натяжной, подвесной потолок или элементы мебели.
Как установить люстру на потолок просто и надежно
В советское время во всех многоэтажных зданиях строители сразу выводили провода к месту расположения будущего светильника и бетонировали для его подвески стальную проволоку.
Эффективного инструмента для обработки бетона тогда было мало. Использовали в основном шлямбур и молоток. Пробить отверстие ими в плите не просто. Крепление для люстры делали заранее.
Сейчас перфоратор есть у каждого мастера. Им отверстия для установки крепежных элементов пробиваются за доли минуты. Их делают двух видов:
- сквозные;
- на часть толщины плиты.
Первый тип отверстий используют для установки пластиковых дюбелей. В них вворачивают подготовленный крюк с резьбой или монтируют крепежную планку.
Этот способ подходит для относительно не тяжелых люстр и светильников.
Сквозные отверстия позволяют закрепить массивные предметы. Для этого с обратной стороны плиты устанавливают стопорную шайбу и завинчивают гайку.
Когда же доступ к месту работы ограничен, то используют установку крепежного элемента на поворотном механизме с осью вращения и одним или двумя фиксирующимися упорами.
Если используется натяжной или подвесной потолок, то установка люстры на нем выполняется с помощью монтажного переходника, служащего промежуточным элементом.
Этот переходник по высоте заполняет все пространство между декоративной поверхностью потолка и нижней плоскостью бетонной плиты. Он крепится любым доступным способом к базовой строительной конструкции, а на него уже непосредственно устанавливается люстра.
Если у вас деревянный дом, то работа упрощается: в продаже имеется большое количество готовых крюков с обычной резьбой для саморезов. Она позволяет ввернуть крепление сразу в балку. На этот крюк подвешивается люстра.
Как установить точечный светильник в натяжной потолок илиподвесной
Продажа предоставляет различные переходники, позволяющие устанавливать светодиодные светильники на определенном расстоянии от базовой поверхности строительной конструкции: его выбирают за основу отступа натяжного потолка.
Основная скоба крепится к бетонной плите саморезами с дюбелями, а регулировочная — фиксируется в ней контргайками или винтами вместе с патроном точечного светильника.
Такой узел регулирования позволяет очень точно совмещать рабочие плоскости светильника и ткани натяжного потолка.
Однако многие мастера предпочитают не покупать готовые переходники, а изготавливают их самостоятельно из крепежных элементов для сборки подвесных конструкций.
Две металлические пластины, определяющие высоту отступа натяжного или подвесного потолка, берутся с запасом по длине. Когда точечный светильник собран, эти пластины просто вгибают или растягивают по требуемому размеру.
Для подвесных потолков из гипсокартона и других подобных прочных материалов выпускаются специальные крепления светильников с пружинными защелками.
Их разводят руками в стороны, затем заводят светильник в подготовленное отверстие и отпускают. Защелки под действием пружин раздвигаются, фиксируют корпус точечного светильника в потолке.
Как выбрать светодиодную лампу
Форма
Для декоративной люстры подойдёт свечевидная форма, или так называемая «кукуруза». Особенно если патроны направлены вверх.
В плафонах хорошо смотрятся шарообразные и грушевидные осветители.
Рефлекторы создают акцентное освещение.
Выбор цоколя
Список распространённых цоколей для светодиодных ламп:
- E27 Самый привычный цоколь Эдисон диаметром 27 мм.
- E14 Народное название «Миньон». Винтовой Эдисон 14 мм. Ставят на маломощные лампы.
- E40 применяется для крупных мощных ламп (в основном для уличного освещения).
Штырьковые модели (безцокольные) G для галогеновых ламп, также скопированы и в светодиодных устройствах, чтобы заменить ими галогены.
- G4 – для миниатюрных ламп.
- GU5.3 – ими оснащены популярные лампы MR16 для мебели и потолков. Такие же, как галогеновые MR16.
- GU10 – похожий на предыдущий, только с расстоянием между контактами в 10мм. Примечательная особенность – увеличенный диаметр на кончиках штырьков.
- GX53 – светильники, встраиваемые и накладные для потолков и мебели, которые имеют плоскую широкую форму.
- G13 – цоколь, аналогичный линейным люминесцентным лампам. Поворотный цоколь, применялся в аналогичных трубчатых лампах T8.
Пульсация
Чем меньше мерцание лампочки, тем лучше для глаз человека. Особенно этот показатель важен, когда речь идёт о выборе освещения для рабочего места. Существуют специальные измерительные приборы, показывающие уровень пульсации в цифровом обозначении. Но если прибора нет.
Определить мерцание можно двумя бытовыми методами:
- Поднести к лампочке карандаш и быстро подвигать им из стороны в сторону. Если глаз отчётливо видит несколько карандашей – лампочку можно ставить только в помещения общего назначения. Например, коридор, туалет или лестничную клетку. В стабильном, немерцающем потоке, будет видно карандаш в крайних точках и размытое изображение между ними.
- Навести на лампу камеру любого цифрового устройства. Хорошие лампочки светят ровно, а мерцающие дают тёмные полосы на экране. Глаза будут утомляться от такого освещения.
Радиатор
Как уже говорилось, хорошее отведение тепла – залог долгой работы лампочки.
Радиатор должен быть выполнен из алюминия.
Однако стремясь к неоправданной экономии, некоторые производители делают пластиковый радиатор и покрывают его серебристой краской.
При покупке слегка постучите по радиатору металлическим предметом. По звуку можно определить, какой использован материал.
Интенсивность свечения
Диммируемые лампы (светодиодные лампы работающие с диммером) можно регулировать по яркости, приглушая или добавляя света. О том, что лампочка способна на это, скажет пиктограмма в виде регулятора, на упаковке.
Схема сборки конструкции
Как будет работать светодиодная лампа напрямую зависит от производителя и цены изделия. Отличия можно заметить, если снять рассеиватель
В первую очередь стоит обратить внимание на качество пайки чипов, а также соединительных проводов. Дешевые лампочки служат меньше, чем качественные и дорогие
Низкокачественные китайские лампочки
Приобретая лампочку не более чем за 3 доллара, не стоит рассчитывать на симметричное расположение светодиодов на плате. Это говорит о том, что пайка выполнялась вручную и на скорую руку, а провода подбирались с минимальным сечением. Надёжного драйвера здесь также не будет. Вместо него реализована бестрансформаторная схема с выпрямителем и конденсатором.

При включении дешевой китайской лампы напряжение сначала снизится металлопленочным конденсатором (неполярным), выпрямится, а после повысится до нужных показателей. Ток будет ограничен стандартным резистором SMD. Он установлен на печатную плату вместе с чипами.

Схема китайской лампочки.
Если приходится проводить диагностику и после ремонтировать лампы подобного типа, следует обязательно придерживаться особой техники безопасности. Каждый элемент, который является составляющей одной цепи, может находиться под напряжением, опасным для человека. Если случайно дотронутся до одной из токоведущих частей, можно получить удар током. То же самое может произойти, если щуп мультиметра случайно соскользнёт и спровоцирует короткое замыкание.
Фирменные светодиодные лампы
Дорогие и качественные лампочки имеют приятный внешний вид, но это далеко не все преимущества. Качество элементной базы будет значительно выше, чем у китайского аналога, приобретённого по низкой цене. Установленный драйвер отличается сложным устройством. Один из способов его сборки подразумевает установку импульсного трансформатора, а также преобразователя тока, который в дальнейшем стабилизирует полученную нагрузку.

Качественная лампа LED.
Трансформатор может не устанавливаться. Основная нагрузка будет направлена на микросхему, стабилизирующую входное напряжение, которая:
- имеет систему отрицательной обратной связи;
- возможность диммирования;
- поддерживает ток с заданной шириной импульса.

Схема без трансформатора.
Выбирая качественную светодиодную лампочку на 220 В с токовым драйвером, покупатель получает защищенное от помех и скачков в сети устройство, которое соответствует характеристикам, указанным в паспорте. Установленный здесь радиатор обеспечит быстрый теплоотвод. Эта лампочка будет служить более чем в 5 раз дольше дешевой китайской.
Преимущества светодиодных ламп
Современные источники света должны быть экономичными, эффективными и безопасными. Светодиоды полностью подходят под эти характеристики. Для работы светоизлучающего диода требуется небольшое количество энергии, при этом они выдают яркое освещение с минимальным выделением тепла. Светодиодные источники света обладают пониженной чувствительностью к скачкам в сети и имеют большое количество циклов включения и выключения. При подаче напряжения они загораются сразу, не нужно время для разогрева. Светодиоды для ламп освещения выгодно отличаются от других источников света своим долгим сроком службы – до 50000 часов.
Безопасность светодиодов заключается в отсутствии в них вредных компонентов. В колбе отсутствуют пары ртути и смесь инертных газов, поэтому они не требуют особых условий утилизации. Также светодиоды выполняются в прочном качественном корпусе. Устройства имеют низкий коэффициент пульсаций, поэтому они безопасны для человеческого здоровья.
Как проверить светодиодную лампу при покупке?
Светодиодная лампа с цоколем Е-27
Примером послужит лампа с цоколем Е-27 и питанием в 220 V. Как при покупке не ошибиться, выбрав качественный товар? Необходимо внимательно осмотреть всю конструкцию светодиодной лампы. Изначально нужно посмотреть на радиатор. Он должен быть литым, а не наборным, т. к. в том числе и от него зависит долговечность работы выбранной лампы. Радиатор стоит в прямой зависимости от мощности, следовательно, чем мощнее лампочка, тем больше охладитель. Очень хорошо себя показывают алюминиевые, керамические либо графитовые.
Наилучший вариант – термопластиковое покрытие радиатора. После необходимо убедиться в отсутствии люфтов в цоколе, а также видимых механических повреждений. В любом магазине электротоваров имеется возможность включения лампы в сеть для проверки
При подаче питания на лампу нужно обратить внимание на исходящий от нее свет. Даже если мерцания не видно, необходимо посмотреть на прибор через камеру сотового телефона
На экране будет четко видно наличие или отсутствие мерцания. Если же имеется пульсация, такую лампу покупать не стоит. Что касается маркировки, то она должна быть четкой и хорошо читаемой, т. к. именно на основе этой информации выбирается тип светодиодной лампы.
Достоинства и недостатки светодиодных светильников
Подобные приборы, как и любые другие, обладают как положительными, так и отрицательными качествами, однако вторых значительно меньше. Среди плюсов можно отметить:
- низкое потребление энергии при длительном сроке эксплуатации (до 50 000 часов);
- высокий коэффициент полезного действия (КПД), который достигается за счет малой теплоотдачи;
- возможность выбора любого цвета, включая многоцветные светодиодные ленты;
- возможность диммирования, что позволяет выполнить зонирование помещений.
Стоит отметить безвредность светодиодов для человеческого организма
Если обратить внимание на люминесцентные светильники, то они со временем начинают пропускать сквозь трещины в люминофоре ультрафиолет. К тому же их утилизация как бытовых отходов запрещена по причине содержания в колбе паров тяжелых металлов, в том числе ртути. Устройство светодиодных светильников не предусматривает использования вредных для организма веществ
Устройство светодиодных светильников не предусматривает использования вредных для организма веществ.
Что касается недостатков, то их отмечается всего два:
- Та же светодиодная лента требует установки дополнительного оборудования – адаптера, а иногда и контроллера. А вот спрятать эти устройства бывает сложно.
- Деградация кристаллов. Со временем сила светового потока снижается. Интенсивность деградации зависит от качества самого чипа и блока питания, с которым он работает.
Конструкция ламп на светодиодах
Внешне источники света, использующие эффект испускания фотонов при прохождении электрического тока через полупроводник, почти не отличаются от ламп накаливания. Главное то, что у них есть привычный металлический цоколь с резьбой, который в точности повторяет все типоразмеры ламп накаливания. Это позволяет ничего не менять в электрооборудовании помещения для их подключения.
Однако внутреннее устройство светодиодной лампы 220 вольт очень сложное. Она состоит из следующих элементов:
1) контактного цоколя;
2) корпуса, одновременно играющего роль радиатора;
3) платы питания и управления;
4) платы со светодиодами;
5) прозрачного колпака.
Плата питания и управления
Разбираясь как устроены светодиодные лампы 220 вольт, в первую очередь стоит понять, что полупроводниковые элементы не могут быть запитаны от переменного тока и напряжения такой величины. Иначе они попросту сгорят. Поэтому в корпусе этого источника света обязательно находится плата, которая снижает напряжение и выпрямляет ток.
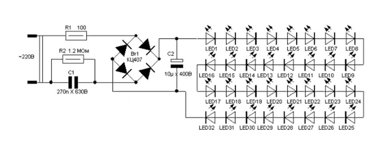
От устройства этой платы во многом зависит долговечность лампы. Точнее, какие элементы стоят на ее входе. В дешевых, кроме резистора перед выпрямляющим диодным мостом, ничего нет. Нередко случаются чудеса (обычно в лампах из Поднебесной), когда нет даже этого резистора и диодный мост напрямую подключен к цоколю. Такие лампы светят очень ярко, но срок их службы чрезвычайно низок, если они не подключены через стабилизирующие устройства. Для этого можно использовать, например, балластные трансформаторы.
Наиболее распространены схемы, в которых в цепи питания управляющей схемы лампы создан сглаживающий фильтр из резистора и конденсатора. В самых дорогих светодиодных лампах блок питания и управления построен на микросхемах. Они хорошо сглаживают броски напряжений, но их рабочий ресурс не слишком высок. В основном, из-за невозможности наладить эффективное охлаждение.
Плата светодиодов
Как бы ученые ни старались, изобретая все новые вещества с высокой эффективностью излучения в видимой части спектра, принцип работы светодиодной лампы остается прежним, и каждый её отдельный светящийся элемент очень слаб. Чтобы достичь требуемого эффекта, их группируют по несколько десятков, а иногда и сотен штук. Для этого используется плата из диэлектрика, на которую нанесены металлические токопроводящие дорожки. Она очень похожа на те, что используются в телевизорах, материнских платах компьютеров и других радиотехнических устройствах.
Плата светодиодов выполняет еще одну важную функцию. Как вы уже заметили, в блоке управления нет понижающего трансформатора. Поставить его, конечно, можно, но это приведет к увеличению габаритов лампы и ее стоимости. Проблема понижения питающего напряжения до номинала, являющегося безопасным для светодиода, решается просто, но экстенсивно. Все светящиеся элементы включены последовательно, как в елочной гирлянде. Например, если в цепь 220 вольт включить последовательно 10 светодиодов, то каждому достанется 22 V (правда, величина тока при этом останется прежней).
Недостатком этой схемы является то, что перегоревший элемент обрывает всю цепь и лампа перестает светить. У нерабочей лампы из десятка светодиодов могут быть неисправными лишь один или два. Есть умельцы, которые перепаивают их и живут спокойно дальше, но большинство неискушенных пользователей выбрасывают всё устройство на помойку.
Прозрачный колпак
В основном этот элемент играет роль защиты от пыли, влаги и шаловливых ручек. Однако есть у него и утилитарная функция. Большинство колпаков светодиодных ламп выглядят матовыми. Это решение могло бы показаться странным, ведь сила излучения светодиода ослабляется. Но его полезность для специалистов очевидна.
Колпак матовый потому, что на его внутреннюю стороны нанесен слой люминофора – вещества, начинающего светиться под воздействием квантов энергии. Казалось бы, тут, что называется, масло масляное. Но люминофор имеет спектр излучения в несколько раз более широкий, чем у светодиода. Он приближен к естественному солнечному. Если оставить светодиоды без такой «прокладки», то от их свечения глаза начинают уставать и болеть.
Какие бывают светодиоды?
Светодиодом называют многослойный полупроводник, который способствует преобразованию электроэнергии в свет. Если изменить его состав, то можно добиться цветного свечения. Изготавливается этот элемент на основе чипа – кристалла с местом подсоединения проводки питания.
Для того, чтобы добиться холодного (белого) свечения, голубой чип обрабатывают особым веществом желтого цвета
Таблица 2. Разновидности светодиодов по способу сборки чипов
| Вид | Описание |
|---|---|
| DIP | Представляет собой кристалл и расположенное в верхней части увеличительное стекло, куда подсоединяются два проводника. Это распространенный тип, который часто используется для подсветки витрин, вывесок и прочих предметов. |
| «Пиранья» | Эта конструкция имеет сходство с предыдущим вариантом, только здесь уже имеется четыре проводника, что позволяет добиться надежности и лучшего отвода тепла из внутренней части. Чаще всего такие чипы устанавливают в автомобильных лампочках. |
| SMD-светодиод | Находится на поверхностной части конструкции, что позволяет сократить габариты, улучшить тепловой отвод. При этом существует множество вариантов таких чипов. Применяют их в любых источниках света, независимо от назначения. |
| СОВ-технология | Здесь чип встраивают в плату. Такое строение позволяет осуществить защиту контактов, поэтому они не окисляются при сильном нагревании – все это лучшим образом сказывается на яркости свечения. В случае неисправности светодиода, придется выполнить полную замену. Здесь уже не получится отпаять чип. |
Чипы светодиодных конструкций
Из отрицательных сторон светодиодов следует отметить минимальный размер. Поэтому, чтобы создать обширное свечение, требуется использовать много таких источников, соединенных между собой. К тому же, кристалл через некоторое время изнашивается, поэтому сокращается яркость лампочек. Тем не менее, если это высококачественное изделие, то лампа долго остается яркой.
Способы сборки
Светодиодные лампы можно разделить на несколько категорий по способу сборки:
Dip (dual inline package). Это самая старая и простая конструкция. Представляет собой светодиод, расположенный в защитном цилиндрическом корпусе, с двумя или более выводами. Светят ярко, различаются широкой цветовой гаммой и малым нагревом. Бывают одноцветные и многоцветные.
- Пиранья. Эти приборы отличаются высоким световым потоком. Выполняются прямоугольной формы с 4 выводами. По сравнению с предыдущими, пиранья прочно устанавливается на плату. Имеет свинцовую подложку, которая увеличивает теплопроводность. Работает в широком температурном диапазоне.
- SMD. Это светодиоды с мощностью 0,01 – 0,2 Вт, отличающиеся наличием нескольких кристаллов на одной керамической подложке. Корпус покрывается люминофором. К минусам можно отнести невозможность ремонта. Если сломается хотя бы один светодиод в группе, придется заменять всю плату.
- COB. Одна из самых надежных технологий изготовления диодов. Полупроводниковый кристалл крепится на плату без корпуса и подложки и покрывается люминофором. Отличаются высокой мощностью и небольшой площадью свечения.
Самой распространенной технологией является COB.



































