Несколько популярных моделей
Готовых комплектов моделей существует масса. Среди них есть как простые и бюджетные решения, так и более сложные системы для комплексного обустройства умного дома.
Feron TM75
Один из самых простых и бюджетных видов. Комплект содержит основной блок и пульт управления. Устройство рассчитано на работу в сети 220 В и на максимальную нагрузку в 1000 Вт.
Простой и удобный беспроводной выключатель для первого знакомства с технологией
Рабочая температура может варьироваться от -10ºС до +40ºС. Для подключения доступно два канала. Из особенностей можно выделить возможность включения с задержкой. Пульт питается от одной батарейки типа A23.
Inted 220V
Ещё один довольно простой вариант для установки беспроводного выключателя. В комплекте имеется непосредственно сам выключатель с 3 кнопками, который монтируется на стену, а также 3 блока управления, на которые передается сигнал с выключателя.
Дизайн простой и ничем не выделяющийся
Таким образом, комплект представляет собой три канала, к которым можно независимо подключить три серии устройств автономно друг от друга.
Inted-1CH
Одноканальный вариант беспроводного выключателя от Intedс пультом дистанционного управления.
Простой одноканальный выключатель для одного прибора или серии однообразных
Способен работать в сетях на 220 В. Приемник может работать в 3 разных режимах: по нажатию одной кнопки, по нажатию двух кнопок и от удержания нажатой кнопки.
Сапфир-2503
Интересная разработка. Представляет собой обычный выключатель, управлять которым можно как физически, так и с помощью любого пульта дистанционного управления от телевизора.
Комбинированный вариант — и простой выключатель, и беспроводной
Можно включить свет вручную, если вы рядом с выключателем, а с дивана — управлять им при помощи телевизионного пульта. Помимо основной функции может имитировать присутствие человека в помещении, случайным образом включая и выключая свет.
HiTE PRO
Это не отдельная модель беспроводных выключателей, а линейка компонентов, из которых можно собрать систему беспроводного управления приборами практически под любые нужды.
С помощью разных гаджетов серии HiTE PRO можно собрать систему из беспроводных выключателей
Отдельно приобретаются блоки управления, стационарные выключатели или же автономные пульты управления. Можно сказать, что это не самый бюджетный вариант. Стоимость одного только простого выключателя может доходить до 1500 рублей. Зато серия имеет большой радиус передачи сигнала (до 250 метров), хороший температурный диапазон и совместимость с другими аналогичными марками.
Статья по теме:
Watch this video on YouTube
Предыдущая
Новинки рынкаФальш-мебель на кухне: тайные места для хранения
Следующая
Новинки рынкаСекреты мастера: 10 рабочих инструментов, которые облегчают жизнь
Тонкости выбора
Выбирая устройство, следует учитывать некоторые важные характеристики. Среди них:
- тип лампочек, которыми способен управлять прибор;
- габариты;
- внешний вид устройства (цвет корпуса, материал, форма, для механических — число клавиш/кнопок);
- рабочее напряжение;
- технология беспроводной связи;
- количество каналов сопряжения;
- радиус покрытия сигнала, возможность работы через ретрансляторы;
- максимальная эксплуатационная нагрузка;
- номинальный ток;
- рабочие частоты;
- наличие/отсутствие шифрования;
- способ питания;
- тип управления (кнопки, ПДУ, сенсор, все перечисленное);
- возможность дистанционного контроля со смартфона, планшета или персонального компьютера;
- если планируется интеграция в «умный дом» – наличие такой функции и поддерживаемые интеллектуальные системы;
- заявленный разработчиком срок работы от батареи;
- способ крепления;
- цена.
Как видно, подбором беспроводного переключателя желательно заняться уже на этапе проектирования помещения, чтобы купить максимально подходящий под конкретные условия образец. Но если гаджет покупается в уже готовый и отделанный дом, комнату, коммерческую недвижимость, на первое место выходит экономичность, компактность, многофункциональность и незаметность (или подходящий под интерьеры дизайн).

Кроме того, важно наличие заводской гарантии и сервисных центров производителя. С ними будет легче починить или заменить неисправный прибор
Типовые проблемы и их решение
В некоторых случаях самостоятельно установленный беспроводный выключатель света вместо ожидаемого комфорта приносит лишь разочарование. Рассмотрим основные причины, по которым ДБВ работает не так или не работает вовсе.
Неправильно выбраны лампы.
Устанавливая дистанционный беспроводной выключатель с функцией диммирования, иногда мы забываем про лампы. Они тоже должны быть диммируемыми. Обычные люминесцентные или светодиодные при попытке диммирования начинают вести себя непредсказуемо – моргать, мигать, непроизвольно тухнуть и зажигаться. Метод устранения проблемы очевиден – меняем обычные лампы на диммируемые.

С диммером работают только диммируемые лампочки
Неправильно выбран беспроводной выключатель
Покупая ДБВ, который устанавливается взамен обычного выключателя и способного работать без нулевого провода, уточните у продавца, будет ли он функционировать с лампами в вашем светильнике. Некоторые модели беспроводных выключателей этого типа некорректно работают со светодиодными и люминесцентными лампами, заставляя их периодически промигивать или слабо светиться даже в выключенном состоянии. Причина – в токе потребления выключателем, который протекает через лампы. ДБВ нужно чем-то питаться, и это питание он берет через лампочки. Проблема устраняется несколькими способами:
- Купить выключатель, работающий с вашим типом ламп.
- Купить прибор, требующий нулевого провода, и провести этот провод в установочную коробку.
- Принять меры, описанные в статье «Причины моргания светодиодной лампочки при выключенном свете и как это устранить».
Приобретая беспроводной выключатель, договоритесь с продавцом о возврате, если товар вам не подойдет. Многие порядочные продавцы идут на это без проблем.
Спутан вход с выходом
Нередко устанавливая выключатель, неспециалисты путают вход с выходом, считая по аналогии с обычным механическим устройством, что разницы нет. В электронном приборе она есть. Перепутав вход с выходом, вы не только получите нерабочую схему, но и рискуете сжечь дорогой ДБВ.

Путать вход с выходом в таких приборах нельзя
Спутан ноль с фазой
Примерно та же проблема, что и в предыдущем абзаце. Только спутаны не вход с выходом, а ноль с фазой. Результат тот же – прибор не работает или выходит из строя. Поэтому перед подключением ДБВ вооружитесь указателем напряжения (индикатором) и определитесь, где у вас ноль, а где фаза.
Подобная проблема возникает, если штатный выключатель включен в разрыв нулевого провода. В этом случае ДБВ не будет работать, даже если вы пробросите в установочную коробку «ноль» – прибору просто нечем питаться.
Повреждена проводка при монтаже
Устанавливая устройство, вы можете повредить изоляцию проводки в установочной коробке или светильнике. Из-за утечки через поврежденную изоляцию светодиодные и люминесцентные лампы промигивают в выключенном состоянии. Подробнее эта проблема описана в статье, ссылка на которую приведена выше. Если вы повредили не изоляцию, а саму проводку, схема может не работать вообще или работать частично (не все каналы).
Батарейка передатчика частично или полностью разряжена
В этом случае управление светом становится неустойчивым или не работает совсем. Вскройте передающий блок и не вынимая батарейку замерьте напряжение на ней. Если оно отличается более чем на 20% от величины, указанной на корпусе источника питания, то его следует заменить.
Отсутствует сеть Интернет или неустойчивая связь с роутером по Wi-Fi.
Это относится только к беспроводным Wi-Fi-выключателям. В первом случае звоним провайдеру, во втором размещаем роутер ближе к выключателю.
Блок управления не видит беспроводной выключатель.
Некоторые модели ДБВ требуют настройки, в процессе которой они учатся опознавать «свой» выключатель и реагировать только на его команды. Ненастроенные устройства не видят друг друга и не могут взаимодействовать. Внимательно прочитайте инструкцию по эксплуатации и свяжите приборы.
Что умеют умные розетки?
Умная розетка в зависимости от конструкции и назначения устройства, может выполнять различные полезные функции:
- с помощью такого устройства можно удаленно контролировать подачу электропитания к бытовым электроприборам, отопительной, вентиляционной и другим системам, работающим от электросети. Область применения смарт-розеток не ограничивается замыканием и размыканием контактов. Некоторые модели оснащены специальными датчиками, позволяющими устройству работать в автономном режиме;
- розетки, оснащенные таймером, идеально подходят для работы с вентиляторами, обогревателями, кондиционерами и другими устройствами, поддерживающими в помещении комфортный микроклимат. Своевременное включение и отключение этих устройств позволяет не только обеспечить в доме или квартире оптимальные параметры микроклимата, но и существенно снижает расход электроэнергии.
- Наличие Wi-Fi подключения или bluetooth обеспечивает возможность удаленного управления подачей электропитания с помощью компьютера, ноутбука, планшета, смартфона или любого другого гаджета, подключенного к интернету. Удаленный доступ позволяет включать или выключать электроприборы в нужное время и регулировать продолжительность их работы. Так, при выходе с работы можно заблаговременно включить обогреватель в зимнее время или кондиционер летом. Кроме того, всегда можно убедиться в том, что не оставлен без присмотра работающий утюг или другой нагревательный прибор.
- Существуют модели умных розеток, оснащенные вольтметрами, амперметрами и другими измерительными приборами, позволяющими контролировать работу бытовой электросети. Такие устройства могут отслеживать уровень потребления электроэнергии тем или иным бытовым электроприбором и оповещать владельца о чрезмерном потреблении электроэнергии или напротив, прекращении работы электротехники.
- Комплектация умной розетки с термодатчиком позволяет регулировать температуру в помещении автоматически, без вмешательства владельца дома. При снижении температуры устройство автоматически подает электропитание обогревателям или другим отопительным приборам. По достижению заданной температуры, подача электропитания прекращается.
PS-Link
Российская компания, известная тем, что не только занимается проектированием и установкой систем видеонаблюдения, безопасности и СКУД. Большую часть оборудования организация производит сама, поэтому во всех нюансах удовлетворяет целям и задачам создаваемых сетей. Над созданием техники работают талантливые инженеры и разработчики, они же объединяют ее в единую экосистему посредством собственных программных продуктов и интерфейсов.
Автоматические выключатели для дома производства PS-Link отличаются способностью взаимодействовать не только с ПО бренда, но и встраиваться в системы других производителей (часто те, кто производит беспроводное оборудование и датчики, ограничивают эту возможность). Они могут покупаться отдельно и в комплекте с другими устройствами.

Преимущества и недостатки беспроводного выключателя света
В плане недостатков это устройство можно вообще назвать идеальным – все требования, возлагаемые на него современными людьми, выполняются достаточно хорошо и стабильно. Достоинств у беспроводного выключателя немного, но они существенные, и переоценить их достаточно сложно. Как и говорилось выше, самым главным из положительных моментов, которыми обладают беспроводные выключатели, является отсутствие в необходимости прокладки отдельной ветки провода непосредственно к самому выключателю. Но кроме него, можно выделить и еще массу преимуществ.
- Возможность организации централизованного управления всеми осветительными приборами в доме или в квартире – именно за это качество они полюбились создателям систем «умный дом». Все, что для этого нужно, это установить и подключить к системе стационарный или мобильный пульт дистанционного управления, с которого можно управлять не только включением и выключением отдельных светильников, но и регулировать их освещенность.
- Очень большой радиус действия, и стены этим устройствам не являются помехой. Что это дает? Вспомните о проходном выключателе, для установки которого необходимо много кабелей – беспроводной настенный выключатель решает подобные проблемы в два счета.
Безопасность. Этот момент касается в большинстве случаев семей, в которых подрастают любопытные дети – даже если они разберут это устройство и влезут в него руками, то ничего страшного не произойдет. Токи, вырабатываемые выключателем, можно назвать мизерными и не опасными.
В качестве небольшого и несущественного недостатка можно выделить единственное «но» (но оно не оказывает влияния на рабочие характеристики выключателей подобной конструкции) – это его стоимость, которая на сегодняшний день доступна далеко не каждому человеку. За один комплект (передатчик и приемник) придется выложить не менее 30$, и это не считая работ по установке. Теперь смотрите сами – сколько у вас в квартире осветительных приборов? То-то и оно.
Как выбрать светодиодный выключатель
При выборе цена прибора, хотя является важным обстоятельством, тем не менее не должна быть единственным аргументом при покупке. Подключение китайского выключателя с подсветкой поможет сэкономить деньги, но не всегда позволит получить качественное устройство
Следует обращать внимание на такие особенности:
Важно учитывать надёжность контактной группы устройства.
Дизайн устройства должен соответствовать тому, который имеется в помещении
Надо обратить внимание на материал, из которого сделан корпус.
Существуют выключатели с подсветкой различными способами применения. Они могут быть клавишными, поворотными, шнуровые или сенсорные.
Класс защищённости должен отвечать условиям эксплуатации
Минимально допустимым считают IP20
Если планируется применять устройство в неблагоприятной обстановке, выбирают соответствующие: IP45 (при наличии высокой влажности), IP65 или выше подойдёт для выключателей, которые предназначены для использования на улице
Если планируется применять устройство в неблагоприятной обстановке, выбирают соответствующие: IP45 (при наличии высокой влажности), IP65 или выше подойдёт для выключателей, которые предназначены для использования на улице.
В зависимости от используемого типа может отличаться расположение индикаторов. Перед тем, как подключить одноклавишный выключатель с подсветкой или другую разновидность владелец должен убедиться, что такие модели не будут создавать дискомфорта при использовании

Принцип работы индикаторной подсветки выключателяИсточник profazu.ru
Почему только кнопочные?
При использовании импульсных реле, применяются уже другие виды выключателей – кнопочные, звонковые или нажимного типа.
Обратите внимание, простые одноклавишники или двухклавишники здесь не подойдут. За редким исключением, например для реле Меандр РИО-2. Но об этом чуть позже
Но об этом чуть позже
За редким исключением, например для реле Меандр РИО-2. Но об этом чуть позже.
Исходя из этого факта, на импульсные реле нельзя подавать сигнал слишком длительное время, иначе у него сгорит катушка. Некоторые производители предупреждают, что время непрерывной подачи сигнала на их моделях должно составлять не более 1 минуты.
А некоторые детки очень любят поиграться с такими кнопочками, после чего они и выходят из строя.
Кнопочные выключатели внешне напоминают обычные, только внутри их конструкции имеется возвратная пружинка, которая после каждого нажатия возвращает клавишу и контакт в исходное положение.
Есть и двухклавишные кнопки в одном корпусе.
Они пригодятся, когда вы захотите подключить от одного реле общее освещение на кухне и одновременно подсветку рабочей зоны столешницы.
Либо в зале – люстру и подсветку по периметру, плюс отдельно бра.
Многие вместо специальных выключателей используют подпружиненные кнопки для дверных звонков.
Где применяются
Беспроводные выключатели находят применение везде, где необходимо поставить новое или перенести старое переключающее устройство, но в силу каких-то обстоятельств обойтись классическими проводными вариантами невозможно.
В сложных ситуациях возможна установка такого гаджета не только на стене, но и, например, внутри полки шкафа, на зеркале и так далее. На функциональность это не влияет — прибор продолжит функционировать в штатном режиме. Это поможет сэкономить пространство и не тревожиться за эстетическую сторону, если, например, купленный аксессуар окажется не соответствующим общему стилю помещения. Его можно просто спрятать.

Пригодятся дистанционный выключатель света и в случае огрехов с прокладкой проводки. Теперь не придется перекладывать все заново, достаточно разместить в удобном месте действующую «по воздуху» модель, и проблема будет решена.

Рассматриваемый класс аксессуаров набирает популярность в области деревянного строительства. Проводка в деревянном доме требует особых противопожарных мер, а беспроводные приборы помогают сократить количество потенциально опасных кабелей. Кроме того, в случае с открытой проводкой последняя более уязвима к повреждениям, а модули беспроводного типа в значительной степени устраняют вероятность обрывов, замыканий и прочих неприятностей. Хотя остающиеся проводными коммуникации по-прежнему нуждаются в мерах защиты.
Настоящим спасением станет «воздушный» выключатель в домах со множеством комнат или разделенных на локации помещениях с отдельными типами освещения. Не понадобится ставить множество отдельных устройств — достаточно обойтись одним-двумя (например, многоклавишными) и связать их с нужными осветительными приборами, после чего активировать нужные сегменты по мере надобности.

Еще один вариант использования беспроводных выключателей света — отремонтированные помещения. Когда ремонт закончен, а на стены нанесено финальное покрытие (будь то ламинат, обои, краска или что-то еще), добавить к обстановке какие-то функциональные компоненты электропроводки бывает затруднительно. В том числе и выключатель — это требует демонтажа отделки, штробления и прочих манипуляций. Беспроводной переключатель решает эту проблему — его достаточно лишь разместить в нужном месте с минимум затрат времени и сил, и без вреда новому интерьеру.

То же касается и помещений с исторической ценностью, где нельзя проводить масштабных вмешательств и изменений в обстановку. Дистанционные выключатели без труда «маскируются» в мебель и предметы, и обеспечивают комфортное управление уровнем освещения.
Не обойтись без современной системы управления освещением и в крупных коммерческих помещениях, конференц-залах и прочих местах с большими площадями. Она даст возможность включать свет на всей территории с одного устройства, в том числе и находясь за пределами здания. Эта же система позволяет и отслеживать свой статус, а самые продвинутые образцы даже имеют функцию подсчета затраченных киловатт.

Все виды дистанционных выключателей: 145 фото основных видов, варианты и схемы подключения, особенности ухода и эксплуатации

В настоящее время существует множество видов выключателей света, они различаются по принципу работы.
Виды выключателей
- Крутящиеся. Такие выключатели представляют собой круглые прокручивающиеся кнопки. Включение и выключение света происходит после характерного щелчка. Так же они позволяют не просто включить и выключить свет, а еще и просто уменьшить уровень освещения.
- В виде клавиш. Они самые популярные, позволяют при помощи различного количества кнопок переключить различные источники света.
- Так же существуют выключатели с датчиком движения. Они включают и выключают свет автоматически, при передвижении человека по комнате.
- Дистанционные. Такие выключатели представляют собой систему с пультом для управления.
И еще огромное количество разнообразных видов выключателей. Самыми удобными являются дистанционные выключатели.
Переключение ими можно производить из любой точки комнаты, они не требуют проводного подключения и работают на батарейках. Дополнительный блок устанавливается на место старого выключателя.
Как работает дистанционный выключатель
Дистанционный выключатель работает при помощи пульта управления. Существует два вида беспроводных выключателей света: с датчиком движения и звука. Первые включаются автоматически, если в комнате кто-то находится, вторые реагируют на звук. Звук устанавливается по предпочтению заказчика заранее. Это может быть щелчок, хлопок или определенное слово.
Принцип действия таких выключателей зависит от магнита, находящегося внутри прибора. Данный магнит приводит в движение металлический центр катушки, которая запускает электрический контакт.
Плюсы и минусы дистанционных выключателей
Преимуществ у такого вида выключателей, конечно же, масса, однако, есть и недостатки. Какие же плюсы дистанционных выключателе, мы сейчас и рассмотрим:
- Простота монтажа. При установке такого вида выключателей не требуется новое место и множество кабелей, они устанавливаются на место прежнего выключателя. Не нужно рушить стены, они прекрасно входят в место прошлого выключателя.
- Управлять светом можно не только пультом, но и любым смартфоном при помощи приложения.
- Крупный радиус управления. Сигнал передается даже через стены и предметы мебели.
- Полная безопасность, даже при использовании детьми. Напряжение довольно низко, и не создает травм.
Это были плюсы использования дистанционных выключателей света, рассмотри теперь и недостатки:
- Высокая стоимость. По сравнению с обыкновенными переключателями, дистанционные по стоимости становятся на порядок выше.
- При разряженной батарее не возможно управление при помощи пульта управления. Со смартфона управление возможно только при помощи Wi-Fi подключения. Оно должно быть стабильным, иначе управление так же не возможно.
Вот и все минусы данной конструкции.
Как выбрать дистанционный выключатель
При подборе дистанционного переключателя света необходимо обращать внимание на множество различных факторов и параметров. Конечно же, в первую очередь не забывайте о том, что дизайн интерьера должен поддерживаться даже в таких мелочах, как переключатель света
Если вы хотите определиться с дизайном выключателя заранее, до покупки, оцените модели при помощи просмотра фото дистанционных выключателей в сети интернет
Если вы хотите определиться с дизайном выключателя заранее, до покупки, оцените модели при помощи просмотра фото дистанционных выключателей в сети интернет.
В комплекте всегда должна идти инструкция, которая подскажет, как подключить дистанционный выключатель.
Так же необходимо обратить внимание на множество других полезных качеств данной конструкции. Важны такие качества, как: радиус работы пульта управления, тип управления, комплектация, размеры всех составляющих, крепление, а так же важна цена
Обязательно, чтобы стоимость соответствовала качеству модели
Для этого лучше выбирать известных производителей электротехники. Если в этом вопросе вы разбираетесь плохо, то обязательно проконсультируйтесь на торговой точке
Обязательно, чтобы стоимость соответствовала качеству модели. Для этого лучше выбирать известных производителей электротехники. Если в этом вопросе вы разбираетесь плохо, то обязательно проконсультируйтесь на торговой точке.
Еще совсем недавно дистанционные переключатели были новинкой на рынке, а теперь — это современное и популярное устройство, которое делает жизнь людей проще и комфортнее. Если вы уже решили приобрести такой выключатель, данная статья подскажет вам, как выбрать дистанционный выключатель.
В чём особенности таких выключателей
Многие люди при выборе таких изделий обращает внимание на их практичность, надёжность и функциональность. У обычных приборов более простое устройство, они не требуют дополнительных усилий при установке. Однако в большинстве случаев подключение для выключателя со светодиодом не подразумевает каких-либо особых сложностей
Однако в большинстве случаев подключение для выключателя со светодиодом не подразумевает каких-либо особых сложностей.

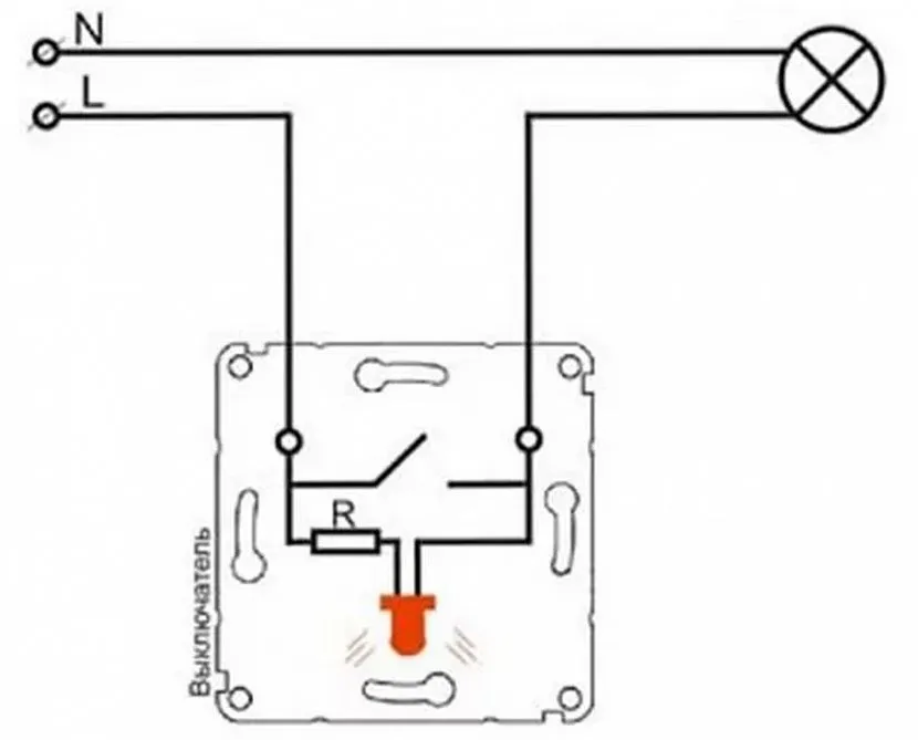
Схема работы выключателяИсточник sovet-ingenera.com
Использование приносит дополнительное удобство, позволяя легко находить клавиши в условиях слабой видимости. Выключатель с подсветкой имеет установленные индикаторы. Это особенно удобно, когда необходимо включить свет в комнате с недостаточным освещением. Зайдя в неё, человек может сразу увидеть, где именно расположен прибор и воспользоваться им.

Выключатель с подсветкойИсточник sovet-ingenera.com
Популярные производители
Беспроводную электрическую технику выпускают производители самых разных стран:
- Фирма Wookee – радиовыключатели с пультом/без пульта работают с 1–6 каналами и нагрузкой в каждой линии 0,2–0,5 кВт, блок приема радиосигналов размещается в монтажной коробке, дальность действия до 30 м.
- НПП «Ноотехника» (республика Беларусь) – выключатели с сенсорным или кнопочным пультом ДУ на 1–3 канала отличает отменное качество полимера, изделия снабжены радиодиммером, радиус действия до 50–100 м.
- Компания СОСО (Голландия) – приемная часть компактных радиовыключателей помещается в обычном патроне люстры и работает с потребителями большой мощности ≤ 3,5 кВт, радиус действия пульта до 30 м.
Топ-5 самых популярных изделий
Рынок осветительных приборов и сопутствующих коммуникационных модулей предлагает широчайший ассортимент беспроводных выключателей.
Все они схожи по принципу работы, но имеют разную конфигурацию и серьезно отличаются друг от друга внешним видом, формой, цветом и доступным функционалом. Выбор делает покупатель, исходя из собственных потребностей и финансовых возможностей.
Особенности модуля Feron TM-75
Feron TM-75 сделан из прочного пластика и рассчитан на базовое напряжение 220В. Корректно работает с подвесными многоламповыми люстрами, светодиодными, точечными лампочками и трековыми светильниками, бра и торшерами.
Модуль комплектуется пультом ДУ, специальным держателем и фирменным элементом питания (батарейка). Относится к бюджетным моделям, но при этом надежно и качественно служит в течение многих лет
Беспроводной агрегат снабжен 2 каналами с хорошей мощностью. На каждый из них можно подключить отдельную группу приборов. Есть функция задержки выключения, а радиус покрытия составляет 30 метров.
Знакомство с прибором Inted 220V
Радиовыключатель беспроводного типа Inted 220V имеет аккуратный, но прочный пластиковый корпус, 1, 2 или 3 клавиши и приемный блок. Работает от напряжения в 220В. Диапазон воздействия колеблется в пределах 10-50 метров. Несущие стены, фальшь-панели и перегородки на передачу сигнала никак не влияют.
Полноценное питание прибор получает от аккумуляторной батарейки типа A23. Ее одной хватает для бесперебойной работы аппарата на протяжении одного года
Крепится к стене при помощи двустороннего скотча (для одноклавишных изделий) или посредством саморезов (для приборов с 2-3 клавишами).
Краткий обзор модели INTED-1-CH
Аппарат INTED-1-CH имеет рабочее напряжение в 220 В и может контролировать систему с базовой мощностью ламп до 900 Вт. Принимает сигналы с пульта ДУ и ретранслирует их на расстояние до 100 метров.
Прибор INTED-1-CH снабжен хорошим функционалом и способен корректно управлять не только домашним осветительным оборудованием, но и системой сигнализации
Единственный минус – это влаговосприимчивый корпус. Из-за этого монтировать прибор во влажных помещениях либо на улице без специальной дополнительной защиты не рекомендуется.
Характеристика устройства Сапфир-2503
Инфракрасный аппарат Сапфир-2503 помимо базовой «начинки» оснащен прогрессивным диммером. Правда этот элемент корректно работает только с традиционными лампами накаливания. Для управления энергоэкономных источников света агрегат не подходит.
Оригинальная особенность Сапфира-2503 – это функция автоматического выключения освещения через определенный промежуток времени. Даже если все ушли из дома и забыли погасить лампочку в одной из комнат, система убережет хозяев от нерационального расхода электроэнергии
Корпус модели сделан из высокопрочного современного пластика. Допустимая эксплуатационная нагрузка составляет 40-400 Вт.
Преимущества прибора Feron TM72
Feron TM72 выглядит элегантно, прекрасно вписывается в различные интерьерные решения и воздействует на электроприборы, расположенные в радиусе 30 метров.
Одно из главных достоинств модели – наличие функции задержки срабатывания выключателя. Подходящий для себя интервал можно выставить индивидуально в пределах 10-60 секунд
Прибор имеет два канала для подключения различных источников света. Мощность каждого из них достигает 1 кВт.
Это дает возможность полноценно использовать в домашней системе самые разные источники освещения.
Подключение встраиваемого передатчика
Предназначенный для расширения возможностей существующего освещения универсальный радиопередатчик монтируют в глубоком подрозетнике за штатным выключателем и подсоединяют к его контактам. При подаче переменного напряжения на управляющие входы модуль посылает команду по радиоканалу исполнительному устройству. Для достижения максимальной дальности работы антенный провод располагают прямо и выводят ближе к внешней поверхности.
Схема электромонтажа двухканального встраиваемого пульта: 1 – универсальный радиопередатчик; 2 – подрозетник; 3 – гипсовый раствор; 4 – штатный выключатель; 5 – антенный провод; 6 – клавишная панель.





































