Сколько размер штрафа?
В 2022 году есть три возможных вида ответственности за описанные в данной статье нарушения:
- за нарушения ПДД по части использования противотуманных фар,
- за установку или снятие ПТФ как внесение изменений в конструкцию,
- и за ксенон и светодиоды в них.
Последствия будут отличаться существенно в зависимости от конкретного нарушения.
За нарушения использования ПТФ
Здесь всё предельно просто и без каких-либо тонкостей. В КоАП РФ 2022 года есть единая статья за любое нарушение 19 раздела ПДД, то есть за неправильное использование световых приборов. Эта статья – 12.20. Штраф составляет 500 рублей, а в редких случаях можно отделаться предупреждением.
Источник https://gnkk.ru/handbook/pdd-protivotumannye-fary-kakie-i-ko/
Источник https://www.drive2.ru/b/487610868004028774/
Источник https://autotonkosti.ru/q/kogda-mozhno-i-nelzya-ispolzovat-protivotumannye-fary-po-pdd
Что, если противотуманные фары слепят?
А ничего! Увы, но ПДД чётко указывают выключить свет исключительно для дальнего. Если же вы кого-то слепите противотуманными фарами, то прямой обязанности выключить их, если вам подают сигнал аварийками (а только так можно сигнализировать об ослеплении по ПДД), у вас нет.
С другой стороны, есть прямая закономерность-зависимость: если ваши ПТФ ослепляют, значит, что-то с ними не так. И чаще всего это что-то не так выражается в установке запрещённого для данного типа световых приборов источника света. А это уже нарушение, которое может привести к серьёзным последствиям. Об этом мы ещё поговорим немного ниже.
Габаритные огни – “Габариты”
Для обеспечения безопасности автомобилей и пешеходов используют габаритные огни, которые также называют парковочными. Они размещаются по бокам передней и задней частей машины, и обязательно должны светиться, если вы едете за рулем в темное время суток. Также их оставляют включенными во время остановки или стоянки на проезжей части или на обочине дороги.
Они выполняют очень важную функцию — привлекают внимание других водителей и отмечают размеры транспортного средства в темное время. Днем габариты не применяют, поскольку они обладают слабой мощностью и практически не видны при ярком солнечном свете. Именно поэтому появилось обязательное правило о том, что все автомобили в России днем должны ездить с включенными дневными ходовыми огнями
Данную тему мы уже рассматривали на нашем портале для автолюбителей Vodi.su
Именно поэтому появилось обязательное правило о том, что все автомобили в России днем должны ездить с включенными дневными ходовыми огнями. Данную тему мы уже рассматривали на нашем портале для автолюбителей Vodi.su.
Передние габариты называют по-разному: подфарники, парковочные лампы, габариты. Они находятся по краям передней части автомобиля на одной линии. В более старых моделях, а также на грузовых автомобилях габариты выносятся на крылья.
Передние габариты должны светиться только белым светом. Правила дорожного движения обязывают водителей включать эти огни ночью и в условиях плохой видимости совместно с другой оптикой: противотуманными фарами, огнями ближнего или дальнего света.
Задние габаритные огни
В задней части легковых автомобилей габариты так же располагаются по бокам на одной линии и входят в состав блок-фары. Согласно перечню неисправностей, задние габариты могут быть только красного цвета. Если речь идет об автобусах или грузовом транспорте, то габариты должны быть не только в нижней части, но и наверху, для обозначения размеров транспортного средства.
Задние габариты обязательно должны быть включенными в темное время суток как во время движения, так и остановки на обочине.
Штраф за не включенные габаритные огни
В КоАП нет отдельного штрафа за негорящие, нерабочие или загрязненные габариты. Однако, в статье 12.5 ч.1 указано четко, что при любых несоответствиях световых приборов основным положениям по допуску ТС к эксплуатации, выносится либо предупреждение, либо штраф 500 рублей.
То есть штраф этот можно получить в следующих случаях:
- не горит или загрязнен один из габаритов;
- горят, но не тем светом: передние — только белые, задние — красные.
Решение о выписке штрафа или вынесении предупреждения принимает инспектор на месте, исходя из конкретных дорожных обстоятельств и приказа МВД № 185.
Устройство габаритных огней
На сегодняшний день в габариты устанавливают обычно галогенные лампочки или светодиоды. Какой бы из этих типов ламп вы не выбрали, следует помнить, что в задней части габариты не должны светить ярче указателей поворота или стоп-сигналов.
Оптимальным выбором станут светодиоды или светодиодные блоки, поскольку в отличие от обычных лампочек накаливания и «галогенок» потребляют меньше электричества, а срок их службы может достигать 100 тысяч часов свечения. Правда, и стоят они дороже.
Обычно габариты включаются автоматически при зажигании фар ближнего света. Кроме того, в некоторых автомобилях предусмотрена возможность включать и выключать габаритные огни по отдельности. Это может понадобиться, например, в том случае, когда нужно обозначить припаркованный автомобиль на тесной стоянке.
Стоит также заметить, что для грузового транспорта в качестве габаритных огней используются катафоты — световозвращатели. Они отражают свет других транспортных средств и являются пассивным средством световой сигнализации.
(8 оценок, среднее: 4,63 из 5)
Схемы подключения ДХО
Так как DRL можно монтировать по своему усмотрению, существует множество схем подключения, которые позволяют настроить оптику самым удобным для водителя образом. Рассмотрим самые популярные из них.
Вариант 1 (к датчикам скорости)
Данное подключение ходовых огней через реле, схема которого показана ниже, считается одним из самых простых. В этом случае ДХО будут включаться в зависимости от работы датчика скорости. Для того чтобы реализовать эту схему необходимо подключить контакты К1.1 участку цепи (в разрыв проводки) от кнопки переключения ближнего света к контакту 85. Использовать при этом можно любое реле с размыкающей парой, однако специалисты рекомендуют использовать изделие с кодом ТС.
Если вы хотите, чтобы во время стоянки при включенном двигателе работали ближние, а не габаритные огни, то контакты необходимо «запараллелить».
Это интересно: Honda Motor уходит от гибридов к экомобилям и беспилотникам
Вариант 2 (к датчику масла)
Еще одна схема подключения дневных ходовых огней через реле задействует датчик масла. Сразу стоит проверить, чтобы он был исправен, так как если регулятор выдает неправильную информацию о давлении жидкости, то и работа всей системы нарушится.
При таком монтаже ДХО, огни будут включаться при запуске двигателя, отключаться от габаритов. В качестве оптики, можно использовать также и ближний свет или противотуманки.
Вариант 3
Чуть сложнее будет подключить ДХО таким образом, чтобы они включались при заведении двигателя и отключались при его остановке. При этом ходовые огни будут включаться вместе с фарами ближнего света. Для этого потребуются два маломощных диода (например, 1А+КД10), которые необходимо соединить последовательно. После этого к лампочкам припаиваются провода длиной порядка 400 мм и производится их подключение. При этом не забудьте, что они полярные.
На следующем этапе:
- Демонтируйте и разберите приборную панель машины и подключить «заготовку» к Х1 (чаще всего провод желтый).
- Демонтируйте кнопку, через которую будет включаться оптика.
- Вмонтируйте другой конец провода в разъем.
- Установите кнопку обратно и проверьте ее работоспособность.
Вариант 4 (подключение ходовых огней от генератора)
Для реализации подобного проекта можно воспользоваться одной из трех схем.
Первая подойдет если задействоваться будет только ручник и мотор.
Вторая схема подключения ходовых огней от генератора потребует использования дополнительного резистора, отвечающего за отключение дневного света в момент активации габаритов или головных фар.
Третья схема позволит деактивировать ходовые огни:
- При поднятии ручника, во время запуска ДВС или во время автоматического запуска мотора вместе с сигнализацией.
- При включении габаритов (в этом случае необходимо чтобы фары или противотуманки работали в штатном режиме).
Грубо говоря, такой тип подключения «аннулирует» автоматический запуск ДХО одновременно с зажиганием генератора.
Полезно! Именно такая схема является «рабочей» при прохождении ГТО.
Перед тем как подключить ходовые огни от генератора, видео, приведенное в конце статьи, рекомендуется посмотреть. Дело в том, что существует не один и не два способа активации ДХО. Однако подключение будет намного проще, если вы приобрели готовый комплект ходовых огней.
Вариант 5 (подключение готового комплекта)
Чтобы не ломать голову над тем, как установить ходовые огни на автомобиль самостоятельно, проще всего купить готовый блоки управления, для автоматического отключения и включения ДХО. Для установки этого модуля необходимо:
- Подсоединить черный провод на минус аккумулятора, а красный – на плюс.
- Оранжевый провод (если он идет в комплекте) необходимо подключить к «габариткам» или ближнему свету. Если провод не подключен, то огни не будут деактивироваться при включении ближнего света или габаритных огней.
После установки ДХО по любой из описанных выше схем необходимо проверить, чтобы установленные элементы работали правильно. Для этого заведите двигатель и посмотрите, функционирует ли лампочка на панели управления, активируются ли ходовые огни и так далее.
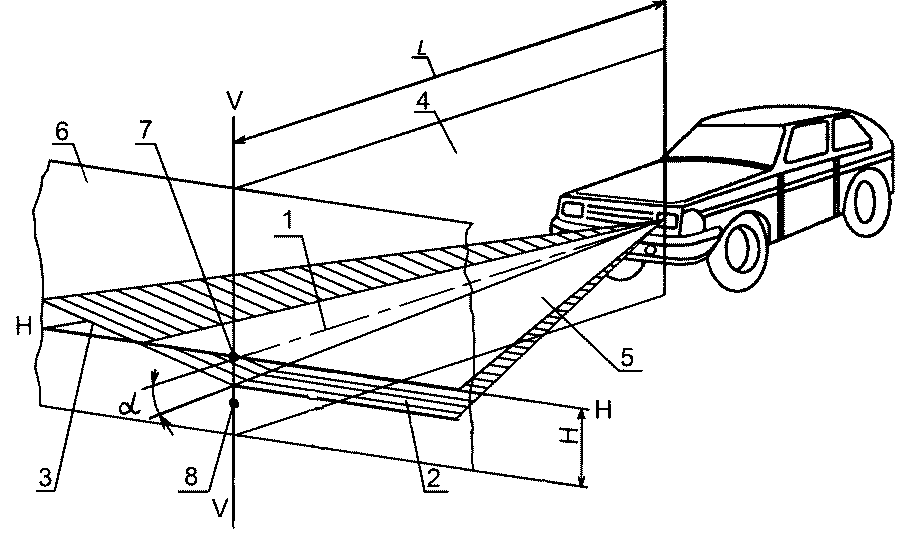
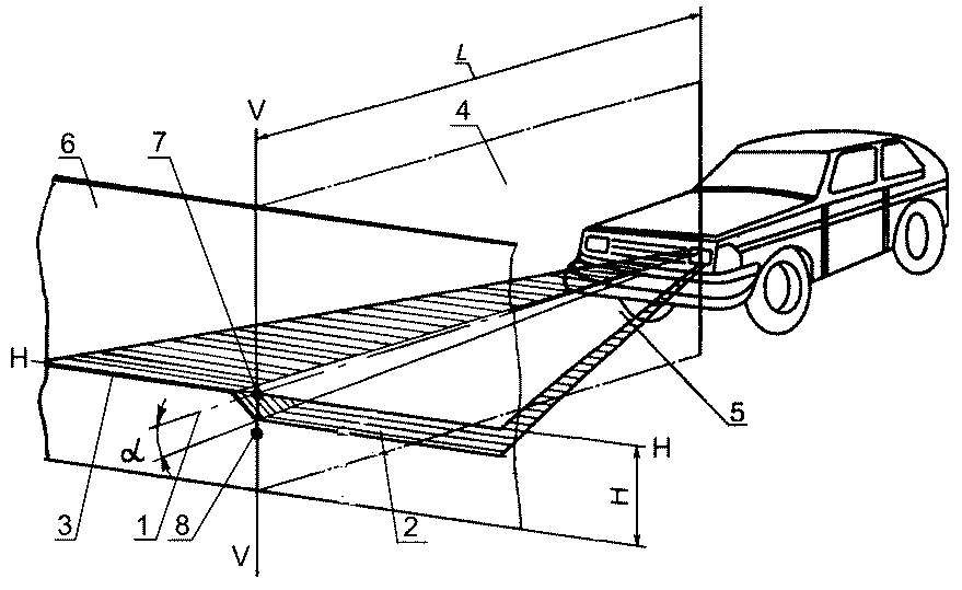
Регулировка фар: что говорит закон

В рамках проведения техосмотра для получения диагностической карты обязательно проводится проверка регулировки передних фар.
В настоящий момент на территории России действует Постановление Российской Федерации от 12.02.2018 года № 148 «О внесении изменений в Правила проведения технического осмотра транспортных средств». Согласно этому постановлению, в России ужесточились требования к проведению обязательного техосмотра автотранспорта. Так, после вступления в силу постановления регулировка фар теперь регулируется не ГОСТом Р 51709-2001, а техническим регламентом Таможенного союза «О безопасности колесных транспортных средств».
Вот эти требования к регулировке фар:3.8.4. Угол наклона плоскости (рисунок 3.1), содержащей левую (от транспортного средства) часть верхней светотеневой границы пучка, именуемый углом регулировки ближнего света фар типов C, HC, DC, CR, HCR, DCR, должен быть в пределах 0,2% в вертикальном направлении от нормативного значения угла регулировки, указанного в эксплуатационной документации и (или) обозначенного на транспортном средстве. При отсутствии на транспортном средстве и в эксплуатационной документации данных о нормативном значении угла регулировки, фары типов C, HC, DC, CR, HCR, DCR должны быть отрегулированы в соответствии с указанными значениями угла регулировки ближнего света фар на рисунке 3.1, а или б и в таблице 3.2. Нормативы угла регулировки заданы в зависимости от высоты H установки оптического центра фары над плоскостью рабочей площадки. Правый участок следа светотеневой границы пучка ближнего света фар типов C, HC, DC, CR, HCR, DCR на экране может быть наклонным или ломаным. 3.8.5. Угловое отклонение в горизонтальном направлении точки пересечения левого горизонтального и правого наклонного участков светотеневой границы светового пучка фар типов C, HC, DC, CR, HCR, DCR от вертикальной плоскости, проходящей через ось отсчета, должно быть не более 0,2%. 3.8.6. Сила света каждой из фар в режиме «ближний свет», измеренная в вертикальной плоскости, проходящей через ось отсчета, должна быть не более 750 кд в направлении 34′ вверх от положения левой части светотеневой границы и не менее 1600 кд в направлении 52′ вниз от положения левой части светотеневой границы. Проверку силы света фар в режиме «ближний свет» проводят после регулировки положения светового пучка ближнего света в соответствии с пунктом 3.8.4. При несоответствии силы ближнего света установленным нормативам проводят повторную регулировку в пределах 0,1% в вертикальном направлении от номинального значения угла по таблице 3.2 и повторное измерение силы света. 3.8.7. Максимальная сила света всех фар, которые могут быть включены одновременно в режиме «дальний свет», не должна превышать 300 000 кд. Силу света фар типов R, HR, DR измеряют в направлении оптической оси фары после проведения регулировки в соответствии с настоящим пунктом. Фары типов R, HR, DR должны быть отрегулированы так, чтобы центр светового пучка лежал на оси отсчета фары. N 29)
и размещение контрольных точек на экране:
а) для режима «ближний свет» с наклонным правым участком светотеневой границы
б) для режима «ближний свет» с ломаным правым участком светотеневой границы
в) для противотуманных фар (введено решением Совета Евразийской экономической комиссии от 16.02.2018 N 29)
Геометрические показатели расположения светотеневой границы пучка ближнего света фар на матовом экране в зависимости от высоты установки фар (в ред. решения Совета Евразийской экономической комиссии от 16.02.2018 N 29) Таблица 3.2
| Расстояние от оптического центра фары до плоскости рабочей площадки H, мм | Угол регулировки ближнего света фары | |
| угл. мин. | процентов | |
| Не более 800 | от -34 до -52 | от -1,0 до -1,5 |
| Свыше 800, но не более 1000 | от -34 до -69 | от -1,0 до -2,0 |
| Свыше 1000 | от -52 до -69 | от -1,5 до -2,0 |
| Для транспортных средств категории N3G с высотой установки фар более 1200 мм | от -69 до -87 | от -2,0 до -2,5 |
3.8.8. Противотуманные фары должны быть отрегулированы в соответствии с указаниями изготовителя транспортного средства в эксплуатационной документации, или если они недоступны или отсутствуют, то светотеневая граница должна находиться ниже линии H в соответствии с таблицей 3.3 (рисунок 3.1в). Однако во всех случаях угол регулировки света противотуманной фары типа B не должен быть менее угла регулировки фары ближнего света (в ред. решения Совета Евразийской экономической комиссии от 16.02.2018 N 29).
Требования ГОСТ по установке ДХО
Согласно ГОСТ Р 41.48-2004 установка и подключение ходовых огней своими руками должны производиться строго по следующим требованиям:
- От края кузова машины до ДХО должно быть выдержано расстояние в 600 мм. Допускается уменьшение этого показателя до 400 мм, но только в случае если габаритная ширина машины составляет менее 1,3 м (пункт 6.19.4.1).
- Расстояние от уровня грунта до световых элементов должно быть в диапазоне от 250 мм до 1500 мм (пункт 6.19.4.2).
- ДХО должны быть направлены вперед и установлены на передней части автотранспортного средства (пункт 6.19.4.3).
- Выдерживается определенная геометрическая видимость. Согласно пункту 6.19.5 горизонтальный угол бета должен составить 20 градусов внутрь и наружу, а альфа – 10 градусов вниз от горизонтали и вверх.
Штрафы
ПДД четко регламентирует, как пользоваться головным и дополнительным автомобильным освещением в зависимости от погодных условий, времени суток и местности
Водителям важно помнить, что закон запрещает сотрудникам ГИБДД самовольно открывать капот автомобиля или снимать фару, проверяя, какой тип лампы установлен в блоке
Инспектор останавливает автомобиль, если визуально наблюдает следующие нарушения:
- Регулировка фар не соответствует ГОСТу. Это видно каждому участнику дорожного движения: дальние огни слепят прохожих и освещают не полосу дороги, а горизонт.
- Фонари не работают или очень грязные.
- На фарах отсутствуют рассеиватели либо используются лампы, которые не предусмотрены как штатные для конкретной модели.
Кроме штрафа до 3000 руб., при некоторых нарушениях водителю грозит потеря прав на период от 6 месяцев до года.
За ксенон
Если ксеноновые фары установлены на авто вместо штатных галогенных огней и инспектор без технического осмотра определил, что такая яркость нехарактерна для галогенок ближнего или дальнего освещения, последует:
- Составление протокола.
- Направление ТС на станцию техосмотра.
- Проверка соответствия световых приборов штатным.
- Штраф до 3000 руб. плюс лишение прав на срок от 6–12 мес., если обнаружится, что галогеновые огни были заменены на ксенон.
За ксенон в противотуманках также грозит штраф и лишение прав. При выборе ксенона для ПТФ рекомендуется выбирать лампу цветовой температуры до 3000 К. Желтый блок фары снизит дальность светового пучка, видимость улучшится без изменения яркости.
ЛЭД лампы
Штраф за диодные лампочки в фарах не предусмотрен, если этот тип света указан изготовителем. Если в модельном ряду в базовой версии авто установлен галоген, а более укомплектованная версия имеет штатные диоды, водитель может заменить галогеновую лампу на диодную. Автопроизводители предусматривают такую возможность для моделей автомобиля одного поколения.
Установка диодных элементов вместо штатного галогена позволяет значительно увеличить яркость фары, при этом параметры освещения будут в пределах правил. Определить, какая лампа стоит в блоке фары, без разборки последней нельзя. Диоды в зависимости от количества блоков дают мягкий ровный свет, не перегревают рассеиватель и имеют большой срок эксплуатации.
Несмотря на все преимущества ЛЭД блоков, за светодиодные лампочки, установленные без разрешения, также грозит штраф 500 руб. Могут и лишить прав на срок до 12 месяцев.
Чтобы установить светодиоды в фары головного света легально, нужно выполнить следующие пункты:
- Приобрести оптику, которая соответствует модельному ряду авто.
- Переоборудовать систему освещения в автомобиле.
- Посетить отделение ГИБДД (по месту, где стоит на учете автомобиль), заполнить заявление о внесении изменений в конструкцию ТС.
- Пройти техосмотр и внести поправку в карту диагностики.
- Выписать свидетельство.
Если сгорела лампа
Если машина передвигается с выключенными фарами, независимо от причины (перегорела лампочка, невнимательность, включен не тот свет и пр.) водителю грозит штраф 500 р. В отдельных случаях штрафа удастся избежать:
- Если автомобилист убедит инспектора, что нерабочей фара стала несколько минут назад.
- Штраф за неработающую фару не будет взыскан, если авто едет в направление сервиса и есть подтверждение — звонок на СТО.
- Автомобилисты могут получить только устное предупреждение за невключенные фары, если это первое нарушение по невнимательности.
- Если днем горят все фары головного света — это не нарушение, такой пункт не предусмотрен правилами. Поэтому инспектор может просто посоветовать не разряжать аккумулятор.
Наиболее распространенные причины, когда положен штраф за отсутствие освещения:
- За управление ТС с одной фарой.
- При въезде в тоннель забыли включить ближний или дальний свет, посчитали, что ПТФ или ДХО достаточно.
- Нет переключения света ночью при разъезде транспорта.
- Разбитые линзы не позволяют скорректировать пучок света, который слепит водителей встречного транспорта.
- Использование ДХО ночью без головного освещения.
За повторное нарушение правил использования осветительных приборов на ТС в 80 % случаев, кроме штрафа, лишают прав.
За «моргание фарами» штраф не предусмотрен. В редких случаях инспектор придирается к водителю и пытается вменить ему «неправомерное использование светового прибора», но водитель всегда может ответить, что он делал это, предупреждая встречных автомобилистов о возможном маневре обгона со своей стороны.
Преимущества использования ближнего света
Использование ближнего света фар имеет ряд преимуществ:
Улучшение видимости в темное время суток. Ближний свет фар освещает дорогу перед автомобилем и позволяет водителю лучше видеть препятствия и другие транспортные средства.
Увеличение видимости в условиях плохой погоды. При дожде, тумане или снегопаде ближний свет фар помогает водителю лучше ориентироваться на дороге и видеть других участников движения.
Предупреждение других водителей о вашем наличии. Включение ближнего света фар позволяет другим водителям лучше видеть ваш автомобиль и снижает риск аварийных ситуаций.
Снижение риска попадания под колеса пешеходов и велосипедистов. Ближний свет фар улучшает видимость людей, движущихся по дороге, и помогает водителю своевременно заметить и избежать их потенциального наезда.
Использование ближнего света фар является неотъемлемой частью безопасной дорожной культуры и помогает создать более комфортные условия для всех участников дорожного движения.
КАК ПОЛЬЗОВАТЬСЯ СВЕТОВЫМИ ПРИБОРАМИ АВТОМОБИЛЯ
Все случаи, когда на транспортном средстве должны включаться фары, прописаны в специальном разделе ПДД. Отдел ГИБДД по городу Брянску разъясняет, что нужно учитывать, чтобы не возникло спорных моментов на дороге.
Дальний свет
Дальний свет включаем в тёмное время суток, при недостаточной видимости и в туннелях. При этом Правила допускают пользоваться в этих случаях и ближним светом.
Дальний переключаем на ближний в следующих случаях:
— при встречном разъезде (за 150 метров до встречного автомобиля);
— при встречном разъезде на большем расстоянии, если водитель встречного автомобиля «поморгал» вам фарами;
— во всех случаях, когда ваш дальний может ослепить водителей встречных;
— в населённых пунктах, если дорога освещена.
Можно воспользоваться дальним светом и при обгоне. Пункт 19.11 ПДД позволяет водителю «поморгать» дальним для предупреждения об обгоне.
Ближний свет фар, как и дальний, включаем ночью, в туннелях и при недостаточной видимости. Днем включаем ближний или ДХО (пункт 19.5 ПДД).
Кроме этого, пунктом 19.3 установлена возможность использования ближнего света при остановке и стоянке в темное время суток на неосвещенных участках или в условиях недостаточной видимости. В этом случае ближний свет используется как дополнение к габаритным огням.
Противотуманки
Противотуманки можно использовать в условиях недостаточной видимости, а также в ночное время на неосвещенных участках вместе с дальним или ближним светом фар. Передние противотуманные фары, кроме того, можно использовать и самостоятельно (вместо ближнего света или ДХО) при движении в светлое время суток (пункт 19.4 ПДД).
Стоит отметить, что ПДД разрешают использовать задние противотуманные фары исключительно в условиях недостаточной видимости.
Обращаем внимание, что сам термин «недостаточная видимость» (видимость дороги менее 300 м в условиях тумана, дождя, снегопада и тому подобного, а также в сумерки) подразумевает лишь ухудшение видимости в связи с погодными условиями. Ни извилистая дорога, ни растущие вдоль обочины деревья (ограничивающие обзор и видимость), ни здания и сооружения к недостаточной видимости никакого отношения не имеют
Не забудьте еще, что ПДД запрещают совмещать задние противотуманки со стоп-сигналами.
Спорные моменты
Давайте рассмотрим типичные случаи, когда водителя могут обвинить в нарушении правил пользования световыми приборами. В КоАП РФ за подобное нарушение предусмотрена ответственность в виде предупреждения или штрафа в 500 рублей (статья 12.20).
Ночью при въезде в населенный пункт по освещенной дороге вы не переключились на ближний. За это вас обоснованно привлекут к ответственности, так как необходимость переключиться на ближний установлена пунктом 19.2 ПДД. Если же дорога не освещена, можно продолжить движение на дальнем свете.
В светлое время суток для обозначения транспортного средства на дороге вы едете с передними противотуманками и так же проезжаете туннель. На выезде вас останавливает инспектор. Наказание будет справедливым. Ведь согласно пункту 19.4 противотуманки допускается использовать вместо ближнего света, тогда как пункт 19.1 говорит о необходимости включить дальний или ближний при проезде туннеля. К слову, такая же ситуация и при движении с ДХО. Въезжая в туннель, нужно включить ближний или дальний. С ДХО по тоннелю ехать нельзя.
Если вы в темное время суток не переключаетесь с дальнего на ближний при встречном разъезде, наказание будет справедливым. Даже если встречные вас об этом не просят, пункт 19.1 ПДД говорит о необходимости перехода на ближний не менее чем за 150 метров от встречного автомобиля.
Днем в населенном пункте вы двигаетесь с дальним светом фар. В этом случае состава нарушения нет, так как прямой запрет на использование дальнего света в населенном пункте один — темное время и освещенная дорога.
Движение по городу в темное время суток с ДХО повлечет за собой штраф. В этом случае ПДД однозначно требуют включать либо ближний (если дорога освещена), либо дальний, если освещения в населенном пункте нет.
Если на автомобиле не работает одна фара (не важно, ближний свет или дальний), к ответственности вас привлекут уже по другой статье — часть 1 статьи 12.5 КоАП РФ (наказание такое же — предупреждение или штраф 500 рублей)




































