Поверка сигнализаторов загазованности в Севастополе
Компания ЗАО «ЮСТИР» осуществляет поверку сигнализаторов загазованности, как на объекте, так и в специализированной лаборатории, согласно действующим методикам поверки.
Сигнализаторы загазованности предназначены для предупреждения утечек газа: метана пропана, оксида углерода и др., устанавливаются в помещениях котельных и ГРП. Как правило поверка сигнализаторов производится раз в год (в зависимости от модели межповерочный интервал может быть другой).
Цель поверки – выявить неисправный сигнализатор загазованности при помощи имитации до взрывных концентраций при помощи поверочно-газовых смесей (ПГС).
Выездная поверка- наши специалисты готовы выехать на объект с необходимым оборудованием для проведения поверки сигнализаторов загазованности по месту эксплуатации, произвести настройку и калибровку с применением поверочно-газовых смесей.
Поверка в лабораторных условиях
Наша компания производит настройку и ремонт в оборудованной лаборатории, имеет широкий спектр запасных частей для осуществления ремонта сигнализаторов загазованности как отечественного, так и импортного исполнения
В лаборатории соблюдаются все требования методики поверки, что крайне важно при настройке и калибровке, поверке сигнализаторов загазованности. При необходимости организация имеет большой обменный фонд поверенных сигнализаторов загазованности, что позволяет производить доставку в лабораторию для последующего ремонта прибора
Поверка газоанализаторов производится на месте установки на объекте заказчика. Поверка газосигнализаторов по угарному газу и метану (поверка датчиков загазованности) должна проводиться один раз в год.
Компания ЗАО «ЮСТИР» проводит комплекс работ по организации поверки, калибровки и ремонту сигнализаторов загазованности. Поверка сигнализаторов загазованности производится с выдачей свидетельств о поверке установленного образца. В стоимость входит полный цикл проведения робот по поверке сигнализаторов загазованности.
В чем суть методики поверочных работ?
Методика поверки представляет собой документ с подробно описанными операциями для подтверждения годности газоанализатора. Для разных марок и моделей подход отличается.
Выдержка из методики для газоанализаторов моделей 1800, 1900, 2200, 5100, 5200 компании Servomex Group Limited: первый пункт — операции поверки
В документ обычно включают 7 пунктов:
- Операции поверки. Речь идет о главных показателях, включая погрешности.
- Средства. К ним относят приборы и газовые смеси для опробования и определения метрологических характеристик.
- Требования безопасности.
- Условия для проведения.
- Подготовка.
- Проведение.
- Оформление результатов поверки. На этом этапе поверяющий составляет протокол и выдает документ-свидетельство.
Непосредственно поверку начинают с того, что присоединяют баллон с поверочным газом к вентилю регулировки. Потом к выходу подводят ротаметр. Последний присоединяют с адаптером для поверочных работ. Смесь затем пускают на вход газоанализатора, и когда прибор даст показания, их фиксируют.
Специалист рассчитает погрешность и определит время, которое ушло на установление показаний. Поверяющий сравнит показатели с нормативами и оформит результаты.
3.1 . Требования к организации калибровочных работ
3.1.1 . Метрологическая служба для организации и проведениякалибровочных работ должна располагать:
средствами калибровки;
документацией на калибровку;
персоналом;
помещениями.
3.1.2 . К средствам калибровки предъявляются следующие требования.
Метрологическая служба должна иметь средства калибровки, отвечающие требованиям нормативных документов по калибровке и соответствующие области аккредитации.
Средства калибровки должны содержаться в условиях, обеспечивающих их сохранность и защиту от повреждений.
Потребность метрологических служб (калибровочных лабораторий) в средствах калибровки определяется по МИ 2314-94.
3.1.3 . К документации на калибровку предъявляются следующие требования.
Метрологическая служба должна иметь актуализированную документацию, включающую:
положение о метрологической службе (калибровочной лаборатории);
аттестат аккредитации на право проведения калибровочных работ;
должностные инструкции;
графики поверки средств калибровки;
графики калибровки средств измерений;
нормативно-технические документы на калибровку (поверку, методики, инструкции, методические указания и т.д.);
техническое описание и инструкции по эксплуатации на средства калибровки и средства измерений;
паспорт на средства измерений и средства калибровки;
документы, определяющие порядок учета и хранения информации и результатов калибровки (протоколы, рабочие журналы, отчеты и т.п.);
документы об образовании и аттестации специалистов, выполняющих калибровку средств измерений (дипломы, свидетельства, сертификаты, удостоверения);
акты о состоянии производственных помещений.
Метрологическая служба должна иметь систему обеспечения качества, соответствующую ее деятельности в области калибровки и объему выполняемых работ. Форма «Руководства по качеству» приведена в приложении 3.
3.1.4 . К персоналу калибровочных лабораторий предъявляются следующие требования.
Специалисты метрологической службы должны иметь профессиональную подготовку и опыт калибровки средств измерений в заявленной области аккредитации.
Для каждого специалиста должны устанавливаться функции, обязанности, права и ответственность, требования к образованию, техническим знаниям и опыту работы, что должно быть отражено в должностной инструкции.
Специалист, выполняющий калибровку средств измерений, должен быть аттестован в порядке, установленном в электроэнергетике.
Подготовка и аттестация персонала должна осуществляться в соответствии с требованиями РД 34.11.112-96.
3.1.5 . К помещениям калибровочных лабораторий предъявляются следующие требования.
Помещения должны соответствовать по производственной площади, состоянию и обеспечиваемым в них условиям требованиям применяемых нормативно-технических документов по калибровке, санитарным нормам и правилам, требованиям безопасности труда и охраны окружающей среды.
Потребность метрологических служб (калибровочных лабораторий) в производственных площадях определяется по МИ 670-84.
При размещении калибровочного оборудования рекомендуется соблюдать следующие нормы: ширина прохода — не менее 1,5 м; ширина незанятого пространства около отдельных калибровочных установок (комплектов средств поверки) или стационарных их элементов — не менее 1 м; расстояние от шкафов и столов со средствами измерений или калибровки до отопительных систем — не менее 0,2 м; расстояние между рабочими столами, если за столом работает один калибровщик, — не менее 0,8 м, а если два — не менее 1,5 м.
Коэффициент естественной освещенности на поверхности стола калибровщика допускается в пределах 1,00 — 1,50. Освещенность на уровне рабочего места не должна быть менее 300 лк.
Операции, связанные с применением агрессивных, токсичных или взрывоопасных веществ или с подготовкой средств измерений к калибровке (расконсервацией, очисткой и т.п.) и сопровождаемые загрязнением воздуха или огнеопасными выделениями, рекомендуется производить в отдельных изолированных помещениях.
Как производится поверка
Поверка манометров – это выявление несоответствий или установление соответствия показаний прибора действительным. Для выявления данного соответствия производится снятие показаний с устройства и сравнение их с показаниями эталонного манометра. После сопоставления данных выявляется возможность дальнейшего применение прибора. Если показатели манометра соответствуют нормативным, устанавливается отметка о проведении поверки, и он используется далее. Если в процессе манипуляций выявлены сильные погрешности в показаниях, прибор калибруется. Если же показатели сильно отличимы от действительных и калибровкой решить проблему не удается, то прибор утилизируется и больше не применяется. Такой прибор считается не поверенным и использоваться не может.
В случае положительного результата поверки на стекло прибора или его корпус ставится небольшой штамп, где указан год и месят совершения данной операции. Аналогичная отметка делается в техническом паспорте устройства. Выполнять поверку может только специальная лицензированная организация, поднадзорная контролирующим органам. Она же имеет право устанавливать штамп о совершении процедуры. Представитель организации должен снять манометры и принести на место проведения поверки.
Требования к проектированию, монтажу (установке), наладке приборов контроля содержания СО в помещениях котельных:
• В котельных с постоянным присутствием обслуживающего персонала датчики приборов контроля устанавливаются на расстоянии 150-180 см над уровнем пола или рабочей площадки там, где пребывание оператора вероятно и продолжительно во время рабочей смены. Это место за рабочим столом в зоне дыхания у фронта котла.
• В котельных, полностью автоматизированных, обслуживание которых осуществляется периодически, датчики приборов контроля устанавливаются у входа в помещение, а сигнализация от прибора контроля выводится на пульт дежурного оператора.
• При установке приборов (сигнализаторов/газоанализаторов) в котельных залах с несплошными междуэтажными перекрытиями каждый этаж следует рассматривать как самостоятельное помещение.
• На каждые 200 м2 помещения котельного зала следует устанавливать 1 датчик к прибору контроля, но не менее 1 датчика на каждое помещение.
• Датчики приборов контроля (сигнализаторов/газоанализаторов) необходимо устанавливать не ближе 2 м от мест подачи приточного воздуха и открытых форточек. При установке датчиков следует учитывать требования инструкции завода-изготовителя по монтажу, которые должны максимально исключить отрицательное влияние на точность измерения концентрации СО от движущихся потоков воздуха, относительной влажности в помещении котельной и тепловых облучений.
• Датчики приборов контроля (сигнализаторов/газоанализаторов) от попадания на них влаги необходимо защищать установкой защитного козырька.
• В запыленных помещениях необходимо предусматривать установку датчиков с фильтрами от пыли. Периодическая очистка загрязненных фильтров должна осуществляться в порядке, предусмотренном производственной инструкцией.
• Проектами вновь строящихся котельных должна предусматриваться установка приборов контроля СО в помещениях котельных.
• Установка приборов контроля (сигнализаторов/газоанализаторов) в действующих и реконструируемых котельных должна осуществляться владельцем этой котельной в сроки, согласованные с территориальным органом Госгортехнадзора России.
На российском рынке представлен ряд отечественных и зарубежных приборов для контроля СО и СН4, в разной степени отвечающих изложенным выше требованиям.
Что нужно знать о периодичности?
Законодатели на государственном уровне обязали все организации, которые владеют газоанализаторами, предоставлять эти приборы для поверки. Работы проводят представители Государственной метрологической службы и аттестованные службы частных организаций. Показатель периодичности для поверки датчика зависит от модели газоанализатора, закон же говорит о сроке от 6 до 12 месяцев, но не реже 1 раза в год. При этом некоторые приборы требуют осмотра как минимум раз в 6 месяцев.
Период для осмотра оборудования могут устанавливать местные структуры метрологической службы. Сотрудники Центров стандартизации и метрологии иногда злоупотребляют своим положением и увеличивают частоту осмотров. ЦСМ может установить полугодичный поверочный срок без весомых причин.
Выделяют также калибровку — комплекс мероприятий для газоанализаторов, которые применяют вне области государственного регулирования. Интервал между калибровками четко не устанавливают. В то же время в методике иногда указывают технически обоснованные рекомендации насчет сроков для следующей такой процедуры.
Поверка манометров: сроки, методика, правила
В системе нагнетания сжатого воздуха могут устанавливаться различные измерительные приборы, большое распространение получил манометр. Как и многие другие приборы, рассматриваемый должен проходить периодическое обслуживание. Только в этом случае можно быть уверенным в том, что оно прослужит в течение длительного периода, а полученные показания будут точными. Рассмотрим все особенности процедуры проверки манометра подробнее.
Поверка манометров: правила
Проводится проверка манометров должна исключительно с учетом основных правил и рекомендаций, так как допущенные ошибки могут привести к снижению точности изделия. Основные правила следующие:
- Для начала проводится осмотр манометра для определения состояния механизма. Повреждение устройства может указывать на то, что проводить поверку и вовсе не стоит. Некоторые из дефектов можно устранить, к примеру, провести замену защитного стекла, все зависит от особенностей конкретной модели манометра.
- Создаются наиболее приближенные условия к эксплуатационным. Примером можно назвать показатель влажности воздуха, атмосферного давления и температуры в помещении.
- Вначале проводимого испытания стрелка должна находится на нуле. За счет этого исключается вероятность допущения погрешности на момент проведения измерений.
Если нет возможности провести установку стрелки на ноль, то проводится регулировка устройства при помощи специального болта.
Сроки поверки манометров
Больше всего внимания уделяется установленным срокам. Назначение калибровки заключается в повышении точности снимаемых показателей. Среди особенностей отметим следующие моменты:
Самостоятельно провести рассматриваемую процедуру можно только в том случае, если прибор устанавливается в качестве элемента неответственных механизмов.
Нужна ли поверка манометров
Первичная поверка прибора проводится для определения показателя номинального давления. В дальнейшем контроль позволяет исключить вероятность снижения точности.
https://youtube.com/watch?v=DlKNiJjoRBg
Периодическая поверка манометра требуется для того, чтобы исключить вероятность его выхода из строя.
Некоторые системы не могут эксплуатироваться без применения манометра.
Если своевременно не проводить рассматриваемую процедуру можно столкнуться со следующим проблемами:
- Погрешность при снятии измерений. В некоторых случаях незначительная погрешность не снижает эффективность применения компрессора, в других точность давления важна.
- Существенно снижается эксплуатационный срок манометра. Некоторые повреждения механизма при его длительной эксплуатации могут привести к быстрому износу. Стоимость высокоточных манометров весьма велика.
- Есть вероятность появления утечки среды, которая станет причиной снижения давления в системе.
В заключение отметим, что при необходимости поверки измерительного прибора компрессора провести подобную работу можно самостоятельно. Для этого можно приобрести специальное устройство в специализированном магазине. Другие механизмы, к которым предъявляются более высокие требования, должны проверяться исключительно специалистом. После проведения процедуры должна ставится пломба.
, пожалуйста, выделите фрагмент текста и нажмите Ctrl+Enter.
5 Средства поверки
5.1 При проведении поверки применяют средства, указанные в таблице 2.
Таблица 2 – Средства поверки | ||||||||
|
3
Окончание таблицы 2 | |||||||||||||||||||||||||||||||||||
|
Таблица 3 – Метрологические характеристики ГС. используемых при no-верке СИ | |||||||||||||
|
11 При содержании компонента (определяемого или поверочного) в ГС свыше 50 % НКПР в целях обеспечения безопасности следует использовать ГС состава «компонент – азот», если возможность замены воздушной среды на азотную предусмотрена в ЭД поверяемого средства измерений
2) коэффициент пересчета для поверочного компонента, установленный в ЭД для i-ой точки поверки (в общем случае для точек поверки 2 и 3 значения коэффициентов пе-ресчета для поверочного компонента могут отличаться)
5.2 Допускается применение других средств, не приведенных в таблице 2. класс точности и метрологические характеристик которых не хуже указанных.
5.3 Все средства поверки должны иметь действующие свидетельства о поверке (аттестации). ГС в баллонах под давлением – действующие паспорта (сертификаты), камера климатическая – действующее свидетельство об аттестации.
Сигнализаторы загазованности. Поверка обязательна
Многие абоненты нашей компании устанавливают в домах сигнализаторы загазованности. Кроме того, сигнализаторы широко применяются в производстве и в различных сферах бытового обслуживания: на газовых котельных, объектах жилищно-коммунального хозяйства, в ресторанах, кафе, столовых и т.д. Перечень возможностей каждого сигнализатора индивидуален, но основная задача — перекрыть подачу газа при наступлении опасной его концентрации или оповестить звуковой сигнализацией, — рассказывает заместитель генерального директора, главный инженер АО «Омскоблгаз» Сергей Жучков — При загазованности загорается световой индикатор и появляется звуковой сигнал. Для безупречной работы сигнализатор загазованности следует периодически поверять (как и счётчики газа, по аналогии). Обычно сигнализатор поверяют один раз в год, если другая периодичность не установлена заводом-изготовителем в паспорте прибора.
Зачем нужно делать поверку газоанализаторов? Современные сигнализаторы загазованности оснащены усовершенствованными датчиками и элементами программного обеспечения, они надёжно работают, теряя не более 10% чувствительности за год. По причине негативного воздействия ряда факторов внешней среды прибор может выйти из строя, поэтому его нужно поверять.
Согласно федеральному закону «Об обеспечении единства измерений» (№ 102-ФЗ от 26.06.2008 г.), комплекс операций, подтверждающих соответствие прибора требованиям, установленным метрологической службой, должны совершать все — физические и юридические лица, использующие измерительные приборы такого типа.
Поверка нужна для подтверждения метрологических характеристик средств измерений, так как именно от этого показателя зависит точность измерений при различных технологических процессах. Поверка сигнализаторов загазованности производится организациями, аккредитованными на право поверки средств измерений. В Омской области это «Государственный региональный центр стандартизации, метрологии и испытаний», находится по адресу г. Омск, ул. 24 Северная, 117а.
После первичной поверки сигнализаторов, выпущенных из производства, её результаты фиксируются в паспорте прибора с установкой оттиска. Также оттиск клейма может устанавливаться на корпус сигнализатора. При периодической (последующей) поверке сигнализаторов на корпус устанавливается оттиск клейма поверителя, а результаты поверки фиксируются в свидетельстве о поверке или в извещении о непригодности.
Правильная эксплуатация газового оборудования требует выполнения необходимых профилактических мероприятий, в т.ч. поверки газоанализаторов. Не забывайте об этом.
Пресс-служба АО «Омскоблгаз»
Метрологические услуги по поверке газоанализаторов ФП-34
Закупка №0574500002218000062 на ЕИС
СРОК ОПЛАТЫ
ЧТО ПОКУПАЮТ
Протокол подведения итогов
Карточка будет добавлена в Избранное
В случае публикации текущей закупки, она заменит отслеживаемую будущую, Вы получите уведомление
Понравилась закупка? Оцените свои возможности, примите решение об участии, подготовьте необходимые документы
Вы подали заявку на участие в аукционе?
Допущены к торгам?
Организатор торгов отклонил Вашу заявку и Вы не согласны с данным решением?
Аукцион! Выигрывает тот, кто предлагает наиболее выгодные условия и цену.
Ожидайте результатов аукциона, отслеживайте соблюдение сроков:
Вы победитель? Поздравляем! Предоставьте Заказчику обеспечение исполнения контракта и подпишите контракт
Строго соблюдайте сроки. Соотношение рабочих и выходных дней не принципиально:
Соотношение рабочих и выходных дней принципиально:
Преимущества для Субъектов Малого Предпринимательства и Социально Ориентированных Некоммерческих организаций:
- Сумма обеспечения – до 2% от стоимости контракта.
- Оплата закупки – не более 15 дней с момента подписания документа о приемке.
Возможно увеличение цены контракта до 15%, но не более начальной цены в случаях:
- Если продавец – организация инвалидов
- Если продавец – предприятие уголовно-исполнительной системы
- При продаже товаров / работ / услуг из РФ, Армении, Белоруссии, Казахстана.
В данной закупке могут принималь участие только организации – субъекты малого предпринимательства и социально ориентированные некоммерческие организации
Установлен запрет на продажу товаров, происходящих из иностранных государств, работ, услуг, соответственно выполняемых, оказываемых иностранными лицами
В отношении участников закупки установлено требование о привлечении к исполнению договора субподрядчиков (соисполнителей) из числа субъектов малого и среднего предпринимательства
Участниками закупки могут быть только субъекты малого и среднего предпринимательства
2 Нормативные ссылки
В настоящем стандарте использованы нормативные ссылки на следующие межгосударственные стандарты:
ГОСТ 2.601-2006 Единая система конструкторской документации. Эксплуатационные документы
ГОСТ 2.610-2006 Единая система конструкторской документации. Правила выполнения эксплуатационных документов
ГОСТ 8.578-2008 Государственная система обеспечения единства измерений. Государственная поверочная схема для средств измерений содержания компонентов в газовых средах)
ГОСТ 12.1 005—88 Система стандартов безопасности труда. Общие санитарно-гигиенические требования к воздуху рабочей зоны
Издание официальное
ГОСТ 12.2.007,0—75 Система стандартов безопасности труда Изделия электротехнические. Общие требования безопасности
ГОСТ 13045-81 Ротаметры. Общие технические условия
ГОСТ 13320-81 Газоанализаторы промышленные автоматические. Общие технические условия
ГОСТ 17433-80 Промышленная чистота. Сжатый воздух. Классы загрязненности
ГОСТ 27540-87 Сигнализаторы горючих газов и паров термохимические. Общие технические условия
ГОСТ 28498-90 Термометры жидкостные стеклянные. Общие технические требования. Методы испытаний
Примечание — При пользовании настоящим стандартом целесообразно проверить действие ссылочных стандартов в информационной системе общего пользования — на официальном сайте Федерального агентства по техническому регулированию и метрологии в сети Интернет или по ежегодному информационному указателю «Национальные стандарты*, который опубликован по состоянию на 1 января текущего года, и по выпускам ежемесячного информационного указателя «Национальные стандарты» за текущий год Если ссылочный стандарт заменен (изменен), то при пользовании настоящим стандартом следует руководствоваться заменяющим (измененным) стандартом Если ссылочный стандарт отменен без замены, то положение, в котором дана ссылка на него, применяется в части, не затрагивающей эту ссылку
100.
(2)
где 0е — верхняя граница диапазона измерений массовой концентрации (объемной доли), для которого нормированы пределы допускаемой приведенной погрешности, мг/м3 (млн-1).
10.1.3 Значение основной относительной погрешности газоанализаторов %. рассчитывают по формуле
6.=£l^-100- (3)
10.1.4 Результаты определения погрешности газоанализатора считают положительными, если полученные значения погрешности (по модулю) в каждой точке поверки не превышают пределов допускаемой погрешности, установленных при утверждении типа СИ и указанных в ЭД газоанализаторов.
10.2 По результатам измерений, полученным по 9.3.2. рассчитывают значение абсолютной, приведенной или относительной вариации показаний, в зависимости от того, какая погрешность нормирована для данной точки поверки.
10.2.1 Значение абсолютной вариации показаний ол, мг/м3 (млн-‘). рассчитывают по формуле
ид=С*-С4и,
гдеС^. С“ — измеренное значение массовой концентрации (объемной доли) озона при подаче ГС Ns 4
при подходе к точке поверки со стороны больших и меньших значений соответственно. мг/м3 (млн-1).
6
ГОСТ Р 8.924—2016
10.2.2 Значение приведенной вариации показаний газоанализаторов иг, %. рассчитывают по формуле
и.
(5)
10.2.3 Значение относительной вариации показаний газоанализаторов , %, рассчитывают по формуле
о
100.
(6)
10.2.4 Результаты определения вариации считают положительными, если полученные значения вариации не превышают пределов допускаемой вариации показаний, установленных при утверждении типа СИ и указанных в ЭД газоанализаторов.
10.3 По результатам измерений, полученным по 9.3.3 настоящего стандарта, рассчитывают время установления показаний газоанализаторов Г. с. ло формуле
j — Г,+ Гп> (7)
2
10.3.1 Результаты определения времени установления показаний считают попожительными. если полученное значение времени не превысило предела допускаемого времени установления пока* заний по уровню 0.9, установленного при утверждении типа СИ и указанного в ЭД газоанализаторов.
11 Оформление результатов поверки
11.1 При положительных результатах первичной или периодической поверки газоанализатор признают годным к применению и выписывают на него свидетельство о поверке установленной формы согласно [6). Рекомендуемая форма протокола поверки газоанализаторов приведена в приложении 8.
При первичной поверке до ввода в эксплуатацию допускается вместо оформления свидетельства о поверке наносить знак поверки (оттиск клейма) в паспорт газоанализатора.
При наличии соответствующих требований в ЭД газоанализатора на корпус газоанализатора наносят знак поверки (оттиск клейма), место нанесения знака поверки указано в описании типа СИ и ЭД газоанализатора.
11.2 При отрицательных результатах первичной или периодической поверки газоанализатор признают непригодным к применению, свидетельство о поверке аннулируют, выдают извещение о непригодности установленной формы согласно [6) сукаэанием причин непригодности.
7
ГОСТ Р 8.924—2016
Приложение А
(обязательное)
Метрологические характеристики ГС, используемых при поверке газоанализаторов
Таблица А.1 — Метрологические характеристики ГС. используемых при поверке газоанализаторов
Номер ГС | Номинальное значение массовой концентрации {объемной доли} озона а ГС. подаваемой на вход газоанализатора, пределы допускаемого отклонения, мг.’м1 (млн»1) |
ГС N9 1 | |
ГС Nb 2 | 0.0301 0.010 {0.015 1 0.005) |
ГС N9 3 | 0.10 1 0.02 (0.0510.01) |
ГС №4 | (0.510.1) С. |
ГС N9 5 | (0.910.1) С. |
Примечание — С„ — | верхняя границе диапазона измерений газоанализаторов |
8
Приложение Б
(рекомендуемое)
ГОСТ Р 8.924—2016
Схемы подачи ГС на газоанализаторы при проведении поверки


6)
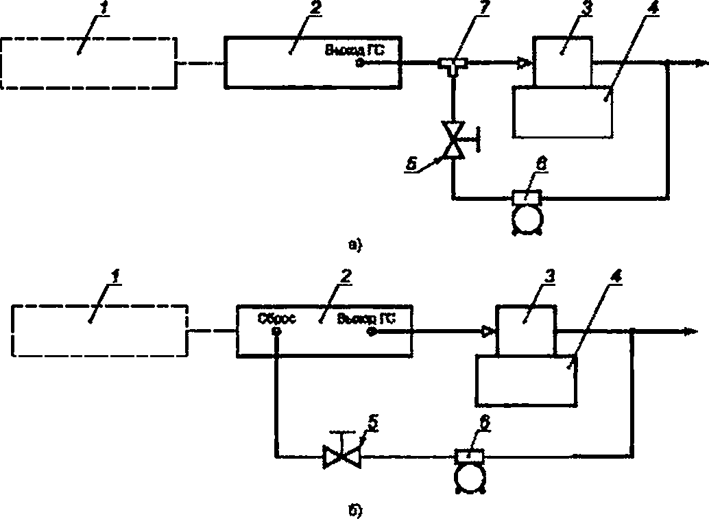
Г — генератор нулевого воздуха (используется в комплекте с калибратором тазовых смесей). ? — генератор озона или калибратор газовых смесей: 3 — поверяемый газоанализатор:^ — тройни» из фторопласта или стекла
Рисунок Б.1 — Газовая схема для подачи ГС на газоанализаторы с принудительным отбором пробы (а — для генераторов или квлибрвторов без выхода сброса излишков ГС. б — для генераторов или калибраторов с выходом сброса излишков ГС)
9
ГОСТ Р 8.924—2016

1 — генератор нулевого воздуха (используется а комплекте с калибратором газовых смесей): 2 — генератор озона или калиб-рагор газовых смесей: 3 — насадка дпя подачи ГС на поверяемый газоанализатор: 4 — поверяемый газоанализатор:
S — вентиль тонкой регулировки: 6 — вспомогательный побудитель расхода: ? — тройник из фторопласта или стекла
Рисунок Б.2 — Газовая схеме для подвчи ГС не газоанализаторы сдиффузионныы отбором пробы (а — для генераторов или калибраторов без выхода сброса излишков ГС. б — для генераторов или калибраторов с выходом сброса излишков ГС)
10
ГОСТ Р 8.924—2016
I
I
I
Условия для проведения работ
Первым делом обеспечивают безопасность. Для поверки подходят только те помещения, где есть приточно-вытяжная вентиляция. После выполнения этого требования проверяют содержание вредных веществ в рабочей зоне предприятия, а норму указали в ГОСТ 12.1.005.
Владелец предприятия отвечает за безопасность в помещении для поверки, для каждого вида взрывоопасного газа есть допустимая концентрация в воздухе
Сотрудников защищают от ударов электричеством — исходя из ГОСТ 12.2.007.0 и по остальным требованиям из правил техники безопасности. Использование газовых смесей в баллонах нормируют ПБ 03-576-03, они же — Правила устройства и безопасной эксплуатации сосудов, работающих под давлением.
Для проведения поверки придется соблюсти такие требования и ограничения:
- напряжение в 220 В;
- расход ПГС на уровне 0,18—0,35 дм³/мин;
- атмосферное давление не ниже 84 кПа и не выше 106;
- относительная влажность воздуха в пределах 30—80 %;
- температура окружающей среды от +15 до +25 °C.
Поверку проводят только аттестованные сотрудники по средствам измерения величин по ПР 50.2.012-94. Прежде чем сделать свою работу, они должны прочитать руководство к газоанализатору, а также поработать с приборами.
В процессе специалист будет вести протокол и вписывать следующие данные:
- номер документа;
- дату;
- имя владельца газового анализатора;
- номер поверяемого устройства;
- показания прибора и параметры погрешностей.
В итоге владелец измерителя получит подписанное свидетельство с отметкой «Годен», но если с качеством прибора не повезет — то извещение с записью «Не годен».
Представители Центра стандартизации и метрологии сразу же прекратят поверку, если получат неудовлетворительный результат по вариации показаний, основной или абсолютной погрешности, времени срабатывания сигнализации.
Акт о поверке должен подтвердить пригодность изделия, а также засвидетельствовать соответствие методике для конкретного газоанализатора, с указанием его наименования и серийного номера
Оборудование для учета топлива перед поверкой должно иметь информационный блок, зарядник и паспорт. То же касается акта о последней поверке, если ее проводили, а также сменных кассет и выносных зондов, если таковые присутствуют.
































